Agreement
Concerning the Adoption of Uniform Technical Prescriptions for Wheeled Vehicles, Equipment and Parts which can be Fitted and/or be Used on Wheeled Vehicles and the Conditions for Reciprocal Recognition of Approvals Granted on the Basis of these Prescriptions1

(Revision 2, including the amendments which entered into force on 16 October 1995)

_________

Addendum 99: Regulation No. 100

Revision 2

Incorporating all valid text up to:

Supplement 1 to the 01 series of amendments – Date of entry into force: 26 July 2012

Supplement 2 to the 01 series of amendments – Date of entry into force: 15 July 2013

02 series of amendments to the Regulation - Date of entry into force: 15 July 2013

Uniform provisions concerning the approval of vehicles with regard to specific requirements for the electric power train

_
________

UNITED NATIONS





Regulation No. 100

Uniform provisions concerning the approval of vehicles with regard to specific requirements for the electric power train

Contents

Page

Regulation

1. Scope 5

2. Definitions 5

3. Application for approval 8

4. Approval 9

5. Part I: Requirements of a vehicle with regard to its electrical safety 10

6. Part II: Requirements of a Rechargeable Energy Storage System (REESS) with regard
to its safety 14


7. Modifications and extension of the type approval 21

8. Conformity of production 21

9. Penalties for non-conformity of production 22

10. Production definitively discontinued 22

11. Names and addresses of Technical Services responsible for conducting approval tests and
of Type Approval Authorities 23


12. Transitional provisions 23

Annexes

1 Part 1 - Communication concerning the approval or extension or refusal or withdrawal of approval
or production definitively discontinued of a vehicle type with regard to its electrical safety pursuant
to Regulation No. 100 24


1 Part 2 - Communication concerning the approval or extension or refusal or withdrawal of approval
or production definitively discontinued of a REESS type as component/separate technical unit
pursuant to Regulation No. 100 26


2 Arrangements of the approval marks 28

3 Protection against direct contacts of parts under voltage 29

4A Isolation resistance measurement method for vehicle based tests 32

4B Isolation resistance measurement method for component based tests of a REESS 36

5 Confirmation method for function of on-board isolation resistance monitoring system 40

6 Part 1 - Essential characteristics of road vehicles or systems 41

6 Part 2 - Essential characteristics of REESS 44

7 Determination of hydrogen emissions during the charge procedures of the REESS 45

Appendix 1 - Calibration of equipment for hydrogen emission testing 56

Appendix 2 - Essential characteristics of the vehicle family 60

8 REESS test procedures 61

Appendix 1 - Procedure for conducting a standard cycle 62

8A Vibration test 63

8B Thermal shock and cycling test 65

8C Mechanical shock 66

8D Mechanical integrity 69

8E Fire resistance 71

Appendix 1 - Dimension and technical data of firebricks 75

8F External short circuit protection 76

8G Overcharge protection 78

8H Over-discharge protection 79

8I Over-temperature protection 81





1. Scope

1.1. Part I: Safety requirements with respect to the electric power train of road vehicles of categories M and N2, with a maximum design speed exceeding 25 km/h, equipped with one or more traction motor(s) operated by electric power and not permanently connected to the grid, as well as their high voltage components and systems which are galvanically connected to the high voltage bus of the electric power train.

Part I of this regulation does not cover post-crash safety requirements of road vehicles.

1.2. Part II: Safety requirements with respect to the Rechargeable Energy Storage System (REESS), of road vehicles of categories M and N equipped with one or more traction motors operated by electric power and not permanently connected to the grid.

Part II of this Regulation does not apply to REESS(s) whose primary use is to supply power for starting the engine and/or lighting and/or other vehicle auxiliaries systems.

2. Definitions

For the purpose of this Regulation the following definitions apply:

2.1. "Active driving possible mode" means the vehicle mode when application of pressure to the accelerator pedal (or activation of an equivalent control) or release of the brake system will cause the electric power train to move the vehicle.

2.2. "Barrier" means the part providing protection against direct contact to the live parts from any direction of access.

2.3. "Cell" means a single encased electrochemical unit containing one positive and one negative electrode which exhibits a voltage differential across its two terminals.

2.4 "Conductive connection" means the connection using connectors to an external power supply when the rechargeable energy storage system (REESS) is charged.

2.5. "Coupling system for charging the Rechargeable Energy Storage System (REESS)" means the electrical circuit used for charging the REESS from an external electric power supply including the vehicle inlet.

2.6. "C Rate" of "n C" is defined as the constant current of the tested-device, which takes 1/n hours to charge or discharge the tested-device between 0 per cent of the state of charge and 100 per cent of the state of charge.

2.7. "Direct contact" means the contact of persons with live parts.

2.8. "Electrical chassis" means a set made of conductive parts electrically linked together, whose potential is taken as reference.

2.9. "Electrical circuit" means an assembly of connected live parts which is designed to be electrically energized in normal operation.

2.10. "Electric energy conversion system" means a system that generates and provides electric energy for electric propulsion.

2.11. "Electric power train" means the electrical circuit which includes the traction motor(s), and may include the REESS, the electric energy conversion system, the electronic converters, the associated wiring harness and connectors, and the coupling system for charging the REESS.

2.12. "Electronic converter" means a device capable of controlling and/or converting electric power for electric propulsion.

2.13. "Enclosure" means the part enclosing the internal units and providing protection against direct contact from any direction of access.

2.14. "Exposed conductive part" means the conductive part which can be touched under the provisions of the protection IPXXB, and which becomes electrically energized under isolation failure conditions. This includes parts under a cover that can be removed without using tools.

2.15. "Explosion" means the sudden release of energy sufficient to cause pressure waves and/or projectiles that may cause structural and/or physical damage to the surrounding of the tested-device.

2.16. "External electric power supply" means an alternating current (AC) or direct current (DC) electric power supply outside of the vehicle.

2.17. "High Voltage" means the classification of an electric component or circuit, if its working voltage is > 60 V and ≤ 1500 V DC or > 30 V and ≤ 1000 V AC root mean square (rms).

2.18. "Fire" means the emission of flames from a tested-device. Sparks and arcing shall not be considered as flames.

2.19. "Flammable electrolyte" means an electrolyte that contains substances classified as Class 3 "flammable liquid" under "UN Recommendations on the Transport of Dangerous Goods – Model Regulations (Revision 17 from June 2011), Volume I, Chapter 2.3"3

2.20. "High voltage bus" means the electrical circuit, including the coupling system for charging the REESS that operates on high voltage.

2.21. "Indirect contact" means the contact of persons with exposed conductive parts.

2.22. "Live parts" means the conductive part(s) intended to be electrically energized in normal use.

2.23. "Luggage compartment" means the space in the vehicle for luggage accommodation, bounded by the roof, hood, floor, side walls, as well as by the barrier and enclosure provided for protecting the occupants from direct contact with live parts, being separated from the passenger compartment by the front bulkhead or the rear bulk head.

2.24. "Manufacturer" means the person or body who is responsible to the approval authority for all aspects of the type approval process and for ensuring conformity of production. It is not essential that the person or body be directly involved in all stages of the construction of the vehicle, system or component which is the subject of the approval process.

2.25. "On-board isolation resistance monitoring system" means the device which monitors the isolation resistance between the high voltage buses and the electrical chassis.

2.26. "Open type traction battery" means a liquid type battery requiring refilling with water and generating hydrogen gas released to the atmosphere.

2.27. "Passenger compartment" means the space for occupant accommodation, bounded by the roof, floor, side walls, doors, window glass, front bulkhead and rear bulkhead, or rear gate, as well as by the barriers and enclosures provided for protecting the occupants from direct contact with live parts.

2.28. "Protection degree" means the protection provided by a barrier/enclosure related to the contact with live parts by a test probe, such as a test finger (IPXXB) or a test wire (IPXXD), as defined in Annex 3.

2.29. "Rechargeable Energy Storage System (REESS)" means the rechargeable energy storage system that provides electric energy for electric propulsion.

The REESS may include subsystem(s) together with the necessary ancillary systems for physical support, thermal management, electronic control and enclosures.

2.30. "Rupture" means opening(s) through the casing of any functional cell assembly created or enlarged by an event, large enough for a 12 mm diameter test finger (IPXXB) to penetrate and make contact with live parts (see Annex 3).

2.31. "Service disconnect" means the device for deactivation of the electrical circuit when conducting checks and services of the REESS, fuel cell stack, etc.

2.32. "State of Charge (SOC)" means the available electrical charge in a tested-device expressed as a percentage of its rated capacity.

2.33. "Solid insulator" means the insulating coating of wiring harnesses provided in order to cover and protect the live parts against direct contact from any direction of access; covers for insulating the live parts of connectors, and varnish or paint for the purpose of insulation.

2.34. "Subsystem" means any functional assembly of REESS components.

2.35. "Tested-device" means either the complete REESS or the subsystem of a REESS that is subjected to the tests prescribed by this Regulation.

2.36. "Type of REESS" means systems which do not differ significantly in such essential aspects as:

(a) The manufacturer's trade name or mark;

(b) The chemistry, capacity and physical dimensions of its cells;

(c) The number of cells, the mode of connection of the cells and the physical support of the cells;

(d) The construction, materials and physical dimensions of the casing and

(e) The necessary ancillary devices for physical support, thermal management and electronic control.

2.37. "Vehicle type" means vehicles which do not differ in such essential aspects as:

(a) Installation of the electric power train and the galvanically connected high voltage bus;

(b) Nature and type of electric power train and the galvanically connected high voltage components.

2.38. "Working voltage" means the highest value of an electrical circuit voltage root-mean-square (rms), specified by the manufacturer, which may occur between any conductive parts in open circuit conditions or under normal operating condition. If the electrical circuit is divided by galvanic isolation, the working voltage is defined for each divided circuit, respectively.

3. Application for approval

3.1. Part I: Approval of a vehicle type with regard to its electrical safety, including the High Voltage System

3.1.1. The application for approval of a vehicle type with regard to specific requirements for the electric power train shall be submitted by the vehicle manufacturer or by his duly accredited representative.

3.1.2. It shall be accompanied by the under-mentioned documents in triplicate and following particulars:

3.1.2.1. Detailed description of the vehicle type as regards the electric power train and the galvanically connected high voltage bus.

3.1.2.2. For vehicles with REESS, additional evidence showing that the REESS is in compliance with the requirements of paragraph 6. of this Regulation.

3.1.3. A vehicle representative of the vehicle type to be approved shall be submitted to the Technical Service responsible for conducting the approval tests and, if applicable, at the manufacturer's discretion with the agreement of the Technical Service, either additional vehicle(s), or those parts of the vehicle regarded by the Technical Service as essential for the test(s) referred to in the paragraph 6. of this Regulation.

3.2. Part II: Approval of a Rechargeable Energy Storage System (REESS)

3.2.1. The application for approval of a type of REESS or separate technical unit with regard to the safety requirements of the REESS shall be submitted by the REESS manufacturer or by his duly accredited representative.

3.2.2. It shall be accompanied by the under-mentioned documents in triplicate and comply with the following particulars:

3.2.2.1. Detailed description of the type of REESS or separate technical unit as regards the safety of the REESS.

3.2.3. A component(s) representative of the type of REESS to be approved plus, at the manufacturer's discretion, and with the agreement of the Technical Service, those parts of the vehicle regarded by the Technical Service as essential for the test, shall be submitted to the Technical Service responsible for conducting the approval tests.

3.3. The Type Approval Authority shall verify the existence of satisfactory arrangements for ensuring effective control of the conformity of production before type approval is granted.

4. Approval

4.1. If the type submitted for approval pursuant to this Regulation meets the requirements of the relevant parts of this Regulation, approval of that type shall be granted.

4.2. An approval number shall be assigned to each type approved. Its first two digits (at present 02 for the Regulation in its form) shall indicate the series of amendments incorporating the most recent major technical amendments made to the Regulation at the time of issue of the approval. The same Contracting Party shall not assign the same number to another vehicle type.

4.3. Notice of approval or of refusal or of extension or withdrawal of approval or production definitively discontinued of a vehicle type pursuant to this Regulation shall be communicated to the Parties to the Agreement applying this Regulation, by means of a form conforming to the model in Annex 1, Part 1 or 2 as appropriate to this Regulation.

4.4. There shall be affixed, conspicuously and in a readily accessible place specified on the approval form, to every vehicle or REESS or separate technical unit conforming to a type approved under this Regulation an international approval mark consisting of:

4.4.1. A circle surrounding the letter "E" followed by the distinguishing number of the country which has granted approval4.

4.4.2. The number of this Regulation, followed by the letter "R", a dash and the approval number to the right of the circle described in paragraph 4.4.1.

4.4.3. In the case of an approval of a REESS or a separate technical unit of the REESS the "R" shall be followed by the symbol "ES".

4.5. If the vehicle or REESS conforms to a type approved under one or more other Regulations annexed to the Agreement in the country which has granted approval under this Regulation, the symbol prescribed in paragraph 4.4.1. need not be repeated; in this case the Regulation and approval numbers and the additional symbols of all the Regulations under which approval has been granted in the country which has granted approval under this Regulation shall be placed in vertical columns to the right of the symbol prescribed in paragraph 4.4.1.

4.6. The approval mark shall be clearly legible and shall be indelible.

4.6.1. In the case of a vehicle, the approval mark shall be placed on or close to the vehicle data plate affixed by the manufacturer.

4.6.2. In the case of a REESS or separate technical unit approved as a REESS, the approval mark shall be affixed on the major element of the REESS by the manufacturer.

4.7. Annex 2 to this Regulation gives examples of the arrangements of the approval mark.

5. Part I: Requirements of a vehicle with regard to its electrical safety

5.1. Protection against electrical shock

These electrical safety requirements apply to high voltage buses under conditions where they are not connected to external high voltage power supplies.

5.1.1. Protection against direct contact

Protection against direct contact with live parts is also required for vehicles equipped with any REESS type approved under Part II of this Regulation.

The protection against direct contact with the live parts, shall comply with paragraphs 5.1.1.1. and 5.1.1.2. These protections (solid insulator, barrier, enclosure, etc.) shall not be able to be opened, disassembled or removed without the use of tools.

5.1.1.1. For protection of live parts inside the passenger compartment or luggage compartment, the protection degree IPXXD shall be provided.

5.1.1.2. For protection of live parts in areas other than the passenger compartment or luggage compartment, the protection degree IPXXB shall be satisfied.

5.1.1.3. Connectors

Connectors (including vehicle inlet) are deemed to meet this requirement if:

(a) They comply with 5.1.1.1. and 5.1.1.2. when separated without the use of tools, or

(b) They are located underneath the floor and are provided with a locking mechanism, or

(c) They are provided with a locking mechanism and other components shall be removed with the use of tools in order to separate the connector, or

(d) The voltage of the live parts becomes equal or below DC 60V or equal or below AC 30V (rms) within one second after the connector is separated.

5.1.1.4. Service disconnect

For a service disconnect which can be opened, disassembled or removed without tools, it is acceptable if protection degree IPXXB is satisfied under a condition where it is opened, disassembled or removed without tools.

5.1.1.5. Marking

5.1.1.5.1. In the case of a REESS having high voltage capability the symbol shown in Figure 1 shall appear on or near the REESS. The symbol background shall be yellow, the bordering and the arrow shall be black.

Figure 1

Marking of high voltage equipment



5.1.1.5.2. The symbol shall also be visible on enclosures and barriers, which, when removed expose live parts of high voltage circuits. This provision is optional to any connector for high voltage buses. This provision shall not apply to any of the following cases:

(a) Where barriers or enclosures cannot be physically accessed, opened, or removed; unless other vehicle components are removed with the use of tools;

(b) Where barriers or enclosures are located underneath the vehicle floor.

5.1.1.5.3. Cables for high voltage buses which are not located within enclosures shall be identified by having an outer covering with the colour orange.

5.1.2. Protection against indirect contact

Protection against indirect contact is also required for vehicles equipped with any REESS type approved under Part II of this Regulation.

5.1.2.1. For protection against electrical shock which could arise from indirect contact, the exposed conductive parts, such as the conductive barrier and enclosure, shall be galvanically connected securely to the electrical chassis by connection with electrical wire or ground cable, or by welding, or by connection using bolts, etc. so that no dangerous potentials are produced.

5.1.2.2. The resistance between all exposed conductive parts and the electrical chassis shall be lower than 0.1 ohm when there is current flow of at least 0.2 amperes.

This requirement is satisfied if the galvanic connection has been established by welding.

5.1.2.3. In the case of motor vehicles which are intended to be connected to the grounded external electric power supply through the conductive connection, a device to enable the galvanical connection of the electrical chassis to the earth ground shall be provided.

The device should enable connection to the earth ground before exterior voltage is applied to the vehicle and retain the connection until after the exterior voltage is removed from the vehicle.

Compliance to this requirement may be demonstrated either by using the connector specified by the car manufacturer, or by analysis.

5.1.3. Isolation resistance

5.1.3.1. Electric power train consisting of separate Direct Current- or Alternating Current-buses

If AC high voltage buses and DC high voltage buses are galvanically isolated from each other, isolation resistance between the high voltage bus and the electrical chassis shall have a minimum value of 100 Ω/volt of the working voltage for DC buses, and a minimum value of 500 Ω/volt of the working voltage for AC buses.

The measurement shall be conducted according to Annex 4A "Isolation resistance measurement method for vehicle based tests".

5.1.3.2. Electric power train consisting of combined DC- and AC-buses

If AC high voltage buses and DC high voltage buses are galvanically connected isolation resistance between the high voltage bus and the electrical chassis shall have a minimum value of 500 Ω/volt of the working voltage.

However, if all AC high voltage buses are protected by one of the 2 following measures, isolation resistance between the high voltage bus and the electrical chassis shall have a minimum value of 100 Ω/V of the working voltage:

(a) Double or more layers of solid insulators, barriers or enclosures that meet the requirement in paragraph 5.1.1. independently, for example wiring harness;

(b) Mechanically robust protections that have sufficient durability over vehicle service life such as motor housings, electronic converter cases or connectors;

The isolation resistance between the high voltage bus and the electrical chassis may be demonstrated by calculation, measurement or a combination of both.

The measurement shall be conducted according to Annex 4A "Isolation resistance measurement method for vehicle based tests".

5.1.3.3. Fuel cell vehicles

If the minimum isolation resistance requirement cannot be maintained over time, then protection shall be achieved by any of the following:

(a) Double or more layers of solid insulators, barriers or enclosures that meet the requirement in paragraph 5.1.1. independently;

(b) On-board isolation resistance monitoring system together with a warning to the driver if the isolation resistance drops below the minimum required value. The isolation resistance between the high voltage bus of the coupling system for charging the REESS, which is not energized besides during charging the REESS, and the electrical chassis need not be monitored. The function of the on-board isolation resistance monitoring system shall be confirmed as described in Annex 5.

5.1.3.4. Isolation resistance requirement for the coupling system for charging the REESS

For the vehicle inlet intended to be conductively connected to the grounded external AC power supply and the electrical circuit that is galvanically connected to the vehicle inlet during charging of the REESS, the isolation resistance between the high voltage bus and the electrical chassis shall be at least 1 MΩ when the charger coupler is disconnected. During the measurement, the traction battery may be disconnected.

5.2. Rechargeable Energy Storage System (REESS)

5.2.1. For a vehicle with a REESS, the requirement of either paragraph 5.2.1.1. or paragraph 5.2.1.2. shall be satisfied.

5.2.1.1. For a REESS which has been type approved in accordance with Part II of this Regulation, it shall be installed in accordance with the instructions provided by the manufacturer of the REESS, and in conformity with the description provided in Part 2 of Annex 6 to this Regulation.

5.2.1.2. The REESS shall comply with the respective requirements of paragraph 6. of this Regulation.

5.2.2. Accumulation of gas

Places for containing open type traction batteries that may produce hydrogen gas shall be provided with a ventilation fan or a ventilation duct to prevent the accumulation of hydrogen gas.

5.3. Functional safety

At least a momentary indication shall be given to the driver when the vehicle is in "active driving possible mode''.

However, this provision does not apply under conditions where an internal combustion engine provides directly or indirectly the vehicle´s propulsion power.

When leaving the vehicle, the driver shall be informed by a signal (e.g. optical or audible signal) if the vehicle is still in the active driving possible mode.

If the on-board REESS can be externally charged by the user, vehicle movement by its own propulsion system shall be impossible as long as the connector of the external electric power supply is physically connected to the vehicle inlet.

This requirement shall be demonstrated by using the connector specified by the car manufacturer.

The state of the drive direction control unit shall be identified to the driver.

5.4. Determination of hydrogen emissions

5.4.1. This test shall be carried out on all vehicles equipped with open type traction batteries. If the REESS has been approved under Part II of this Regulation and installed in accordance with paragraph 5.2.1.1. this test can be omitted for the approval of the vehicle.

5.4.2. The test shall be conducted following the method described in Annex 7 to the present Regulation. The hydrogen sampling and analysis shall be the ones prescribed. Other analysis methods can be approved if it is proven that they give equivalent results.

5.4.3. During a normal charge procedure in the conditions given in Annex 7, hydrogen emissions shall be below 125 g during 5 h, or below 25 x t2 g during t2 (in h).

5.4.4. During a charge carried out by a charger presenting a failure (conditions given in Annex 7), hydrogen emissions shall be below 42 g. Furthermore the charger shall limit this possible failure to 30 minutes.

5.4.5. All the operations linked to the REESS charging shall be controlled automatically, included the stop for charging.

5.4.6. It shall not be possible to take a manual control of the charging phases.

5.4.7. Normal operations of connection and disconnection to the mains or power cuts shall not affect the control system of the charging phases.

5.4.8. Important charging failures shall be permanently indicated. An important failure is a failure that can lead to a malfunction of the charger during charging later on.

5.4.9. The manufacturer has to indicate in the owner's manual, the conformity of the vehicle to these requirements.

5.4.10. The approval granted to a vehicle type relative to hydrogen emissions can be extended to different vehicle types belonging to the same family, in accordance with the definition of the family given in Annex 7, Appendix 2.

6. Part II: Requirements of a Rechargeable Energy Storage System (REESS) with regard to its safety

6.1. General

The procedures prescribed in Annex 8 of this Regulation shall be applied.

6.2. Vibration

6.2.1. The test shall be conducted in accordance with Annex 8A to this Regulation.

6.2.2. Acceptance criteria

6.2.2.1. During the test, there shall be no evidence of:

(a) Electrolyte leakage;

(b) Rupture (applicable to high voltage REESS (s) only);

(c) Fire;

(d) Explosion.

Evidence of electrolyte leakage shall be verified by visual inspection without disassembling any part of the tested-device.

6.2.2.2. For a high voltage REESS, the isolation resistance measured after the test in accordance with Annex 4B to this Regulation shall not be less than 100 Ω/Volt.

6.3. Thermal shock and cycling

6.3.1. The test shall be conducted in accordance with Annex 8B to this Regulation.

6.3.2. Acceptance criteria

6.3.2.1. During the test, there shall be no evidence of:

(a) Electrolyte leakage;

(b) Rupture (applicable to high voltage REESS(s) only);

(c) Fire;

(d) Explosion.

Evidence of electrolyte leakage shall be verified by visual inspection without disassembling any part of the tested-device.

6.3.2.2. For a high voltage REESS, the isolation resistance measured after the test in accordance with Annex 4B of this Regulation shall not be less than 100 Ω/Volt.

6.4. Mechanical impact

6.4.1. Mechanical Shock

At the manufacturer´s choice the test may be performed as, either

(a) Vehicle based tests in accordance with paragraph 6.4.1.1. of this Regulation, or

(b) Component based tests in accordance with paragraph 6.4.1.2. of this Regulation, or

(c) Any combination of (a) and (b) above, for different direction of vehicle travel.

6.4.1.1. Vehicle based test

Compliance with the requirements of the acceptance criteria of paragraph 6.4.1.3. below may be demonstrated by REESS(s) installed in vehicles that have been subjected to vehicle crash tests in accordance with Regulation No. 12, Annex 3 or Regulation No. 94, Annex 3 for frontal impact, and Regulation No. 95, Annex 4 for side impact. The ambient temperature and the SOC shall be in accordance with the said Regulations.

The approval of a REESS tested under this paragraph shall be limited to the specific vehicle type.

6.4.1.2. Component based test

The test shall be conducted in accordance with Annex 8C to this Regulation.

6.4.1.3. Acceptance criteria

During the test there shall be no evidence of:

(a) Fire;

(b) Explosion;

(c1) Electrolyte leakage if tested according to paragraph 6.4.1.1.:

(i) For a period from the impact until 30 minutes after the impact there shall be no electrolyte spillage from the REESS into the passenger compartment;

(ii) No more than 7 per cent by volume of the REESS electrolyte capacity shall spill from the REESS to the outside of the passenger compartment (for open type traction batteries a limitation to a maximum of 5 litres also applies);

(c2) Electrolyte leakage if tested according to paragraph 6.4.1.2.

After the vehicle based test (paragraph 6.4.1.1.), a REESS which is located inside the passenger compartment shall remain in the installed location and the REESS components shall remain inside REESS boundaries. No part of any REESS that is located outside the passenger compartment shall enter the passenger compartment during or after the impact test procedures.

After the component based test (paragraph 6.4.1.2.) the tested-device shall be retained by its mounting and its components shall remain inside its boundaries.

For a high voltage REESS the isolation resistance of the tested-device shall ensure at least 100 Ω/Volt for the whole REESS measured after the test in accordance with Annex 4A or Annex 4B to this Regulation, or the protection degree IPXXB shall be fulfilled for the tested-device.

For a REESS tested in accordance with paragraph 6.4.1.2., the evidence of electrolyte leakage shall be verified by visual inspection without disassembling any part of the tested-device.

To confirm compliance to (c1) of paragraph 6.4.1.3. an appropriate coating shall, if necessary, be applied to the physical protection (casing) in order to confirm if there is any electrolyte leakage from the REESS resulting from the impact test. Unless the manufacturer provides a means to differentiate between the leakage of different liquids, all liquid leakage shall be considered as the electrolyte.

6.4.2. Mechanical integrity

This test applies only to a REESS intended for installation in vehicles of categories M1 and N1.

At the manufacturer’s choice, the test may be performed as, either:

(a) Vehicle based tests in accordance with paragraph 6.4.2.1. of this Regulation, or

(b) Component based tests in accordance with paragraph 6.4.2.2. of this Regulation.

6.4.2.1. Vehicle specific test

At the manufacturer’s choice, the test may be performed as either:

(a) A vehicle based dynamic tests in accordance with paragraph 6.4.2.1.1. of this Regulation, or

(b) A vehicle specific component test in accordance with paragraph 6.4.2.1.2. of this Regulation, or

(c) Any combination of (a) and (b) above, for different directions of vehicle travel.

When the REESS is mounted in a position which is between a line from the rear edge of the vehicle perpendicular to the centre line of the vehicle and 300 mm forward and parallel to this line, the manufacturer shall demonstrate the mechanical integrity performance of the REESS in the vehicle to the Technical Service.

The approval of a REESS tested under this paragraph shall be limited to specific vehicle type.

6.4.2.1.1. Vehicle based dynamic test

Compliance with the requirements of the acceptance criteria of paragraph 6.4.2.3. below may be demonstrated by REESS(s) installed in vehicles that have been subjected to a vehicle crash test in accordance with the Annex 3 to Regulations Nos. 12 or 94 for frontal impact, and Annex 4 to Regulation No. 95 for side impact. The ambient temperature and the SOC shall be in accordance with the said Regulations.

6.4.2.1.2. Vehicle specific component test

The test shall be conducted in accordance with Annex 8D of this Regulation.

The crush force replacing the prescribed force specified in paragraph 3.2.1. of Annex 8D shall be determined by the vehicle manufacturer using the data obtained from either actual crash tests or its simulation as specified in
Annex 3 of Regulations No. 12 or No. 94 in the direction of travel and according to Annex 4 to Regulation No. 95 in the direction horizontally perpendicular to the direction of travel. These forces shall be agreed by the Technical Service.

The manufacturers may, in agreement with the Technical Services, use forces derived from the data obtained from alternative crash test procedures, but these forces shall be equal to or greater than the forces that would result from using data in accordance with the Regulations specified above.

The manufacturer may define the relevant parts of the vehicle structure used for the mechanical protection of the REESS components. The test shall be conducted with the REESS mounted to this vehicle structure in a way which is representative of its mounting in the vehicle.

6.4.2.2. Component based test

The test shall be conducted in accordance with Annex 8D to this Regulation.

REESS approved according to this paragraph shall be mounted in a position which is between the two planes; (a) a vertical plane perpendicular to the centre line of the vehicle located 420 mm rearward from the front edge of the vehicle, and (b) a vertical plane perpendicular to the centre line of the vehicle located 300 mm forward from the rear edge of the vehicle.

The mounting restrictions shall be documented in Annex 6 - Part 2.

The crush force specified in paragraph 3.2.1. of Annex 8D may be replaced with the value declared by the manufacturer, where the crush force shall be documented in Annex 6, Part 2 as a mounting restriction. In this case, the vehicle manufacturer who uses such REESS shall demonstrate, during the process of approval for Part I of this Regulation, that the contact force to the REESS will not exceed the figure declared by the REESS manufacturer. Such force shall be determined by the vehicle manufacturer using the data obtained from either actual crash test or its simulation as specified in Annex 3 of Regulations Nos. 12 or 94 in the direction of travel and according to Annex 4 to Regulation No. 95 in the direction horizontally perpendicular to the direction of travel. These forces shall be agreed by the manufacturer together with the Technical Service.

The manufacturers may, in agreement with the Technical Services, use forces derived from the data obtained from alternative crash test procedures, but these forces shall be equal to or greater than the forces that would result from using data in accordance with the regulations specified above.

6.4.2.3. Acceptance criteria

During the test there shall be no evidence of:

(a) Fire;

(b) Explosion;

(c1) Electrolyte leakage if tested according to paragraph 6.4.1.1.:

(i) For a period from the impact until 30 minutes after the impact there shall be no electrolyte spillage from the REESS into the passenger compartment.

(ii) No more than 7 per cent by volume of the REESS electrolyte capacity shall spill from the REESS to the outside of the passenger compartment (for open type traction batteries a limitation to a maximum of 5 litres also applies).

(c2) Electrolyte leakage if tested according to paragraph 6.4.2.2.

For a high voltage REESS, the isolation resistance of the tested-device shall ensure at least 100 Ω/Volt for the whole REESS measured in accordance with Annex 4A or Annex 4B of this Regulation or the protection degree IPXXB shall be fulfilled for the Tested-Device.

If tested according to paragraph 6.4.2.2., the evidence of electrolyte leakage shall be verified by visual inspection without disassembling any part of the tested-device.

To confirm compliance to (c1) of paragraph 6.4.2.3. an appropriate coating shall, if necessary, be applied to the physical protection (casing) in order to confirm if there is any electrolyte leakage from the REESS resulting from the impact test. Unless the manufacturer provides a means to differentiate between the leakage of different liquids, all liquid leakage shall be considered as the electrolyte.

6.5. Fire resistance

This test is required for REESS containing flammable electrolyte.

This test is not required when the REESS as installed in the vehicle, is mounted such that the lowest surface of the casing of the REESS is more than 1.5m above the ground. At the option of the manufacturer, this test may be performed where the of the REESS’s lower surface is higher than 1.5 m above the ground. The test shall be carried out on one test sample.

At the manufacturer´s choice the test may be performed as, either:

(a) A vehicle based test in accordance with paragraph 6.5.1. of this Regulation, or

(b) A component based test in accordance with paragraph 6.5.2. of this Regulation.

6.5.1. Vehicle based test

The test shall be conducted in accordance with Annex 8E paragraph 3.2.1. of this Regulation.

The approval of a REESS tested according to this paragraph shall be limited to approvals for a specific vehicle type.

6.5.2. Component based test

The test shall be conducted in accordance with Annex 8E paragraph 3.2.2. of this Regulation.

6.5.3. Acceptance criteria

6.5.3.1. During the test, the tested-device shall exhibit no evidence of explosion.

6.6. External short circuit protection

6.6.1. The test shall be conducted in accordance with Annex 8F of this Regulation.

6.6.2. Acceptance criteria;

6.6.2.1. During the test there shall be no evidence of:

(a) Electrolyte leakage;

(b) Rupture (applicable to high voltage REESS(s) only);

(c) Fire;

(d) Explosion.

Evidence of electrolyte leakage shall be verified by visual inspection without disassembling any part of the tested-device.

6.6.2.2. For a high voltage REESS, the isolation resistance measured after the test in accordance with Annex 4 B to this Regulation shall not be less than 100 Ω/Volt.

6.7. Overcharge protection

6.7.1. The test shall be conducted in accordance with Annex 8G to this Regulation.

6.7.2. Acceptance criteria

6.7.2.1. During the test there shall be no evidence of:

(a) Electrolyte leakage;

(b) Rupture (applicable to high voltage REESS(s) only);

(c) Fire;

(d) Explosion.

Evidence of electrolyte leakage shall be verified by visual inspection without disassembling any part of the tested-device.

6.7.2.2. For a high voltage REESS, the isolation resistance measured after the test in accordance with Annex 4B to this Regulation shall not be less than 100 Ω/Volt.

6.8. Over-discharge protection

6.8.1. The test shall be conducted in accordance with Annex 8H to this Regulation.

6.8.2. Acceptance criteria

6.8.2.1. During the test there shall be no evidence of:

(a) Electrolyte leakage;

(b) Rupture (applicable to high voltage REESS(s) only);

(c) Fire;

(d) Explosion.

Evidence of electrolyte leakage shall be verified by visual inspection without disassembling any part of the tested-device.

6.8.2.2. For a high voltage REESS the isolation resistance measured after the test in accordance with Annex 4B to this Regulation shall not be less than 100 Ω/Volt.

6.9. Over-temperature protection

6.9.1. The test shall be conducted in accordance with Annex 8I to this Regulation.

6.9.2. Acceptance criteria

6.9.2.1. During the test there shall be no evidence of:

(a) Electrolyte leakage;

(b) Rupture (applicable to high voltage REESS(s) only);

(c) Fire;

(d) Explosion.

Evidence of electrolyte leakage shall be verified by visual inspection without disassembling any part of the tested-device.

6.9.2.2. For a high voltage REESS, the isolation resistance measured after the test in accordance with Annex 4B to this Regulation shall not be less than 100 Ω/Volt.

6.10. Emission

Possible emission of gases caused by the energy conversion process during normal use shall be considered.

6.10.1. Open type traction batteries shall meet the requirements of paragraph 5.4. of this Regulation with regard to hydrogen emissions.

Systems with a closed chemical process shall be considered as emission-free under normal operation (e.g. lithium-ion battery).

The closed chemical process shall be described and documented by the battery manufacturer in Annex 6 - Part 2.

Other technologies shall be evaluated by the manufacturer and the Technical Service regarding any possible emissions under normal operation.

6.10.2. Acceptance criteria

For hydrogen emissions see paragraph 5.4. of this Regulation.

For emission free systems with closed chemical process no verification is necessary.

7. Modifications and extension of the type approval

7.1. Every modification of the vehicle or REESS type with regard to this Regulation shall be notified to the Type Approval Authority which approved the vehicle or REESS type. The Authority may then either:

7.1.1. Consider that the modifications made are unlikely to have an appreciable adverse effect and that in any case the vehicle or the REESS still complies with the requirements, or

7.1.2. Require a further test report from the Technical Service responsible for conducting the tests.

7.2. Confirmation or refusal of approval, specifying the alteration, shall be communicated by the procedure specified in paragraph 4.3. above to the Parties to the Agreement applying this Regulation.

7.3. The Type Approval Authority issuing the extension of approval shall assign a series number to each communication form drawn up for such an extension and inform thereof the other Parties to the 1958 Agreement applying the Regulation by means of a communication form conforming to the model in Annex 1 (Part 1 or Part 2) to this Regulation.

8. Conformity of production

8.1. Vehicles or REESS approved under this Regulation shall be so manufactured as to conform to the type approved by meeting the requirements of the relevant part(s) of this Regulation.

8.2. In order to verify that the requirements of paragraph 8.1. are met, appropriate production checks shall be carried out.

8.3. The holder of the approval shall, in particular:

8.3.1. Ensure the existence of procedures for the effective quality control of vehicles or REESS;

8.3.2. Have access to the testing equipment necessary for checking the conformity of each approved type;

8.3.3. Ensure that test result data are recorded and that the annexed documents remain available for a period to be determined in agreement with the Type Approval Authority;

8.3.4. Analyse the results of each type of test, in order to verify and ensure the consistency of characteristics of the vehicle or REESS, making allowance for permissible variations in industrial production;

8.3.5. Ensure that for each type of vehicle or component type at least the tests prescribed in the relevant part(s) of this Regulation are carried out;

8.3.6. Ensure that any set of samples or test pieces giving evidence of non-conformity with the type of test in question shall give rise to a further sampling and test. All necessary steps shall be taken to re-establish conformity of the corresponding production.

8.4. The Type Approval Authority which has granted type approval may at any time verify the conformity control methods applied in each production unit.

8.4.1. At every inspection, the test records and production records shall be presented to the visiting inspector.

8.4.2. The inspector may take samples at random to be tested in the manufacturer's laboratory. The minimum number of samples may be determined according to the results of the manufacturer's own checks.

8.4.3. When the quality level appears unsatisfactory or when it seems necessary to verify the validity of the tests carried out in application of paragraph 8.4.2., the inspector shall select samples to be sent to the technical service which has conducted the type approval tests.

8.4.4. The competent Authority may carry out any test prescribed in this Regulation.

8.4.5. The normal frequency of inspections by the Type Approval Authority shall be one per year. If unsatisfactory results are recorded during one of these visits, the Type Approval Authority shall ensure that all necessary steps are taken to re-establish the conformity of production as rapidly as possible.

9. Penalties for non-conformity of production

9.1. The approval granted in respect of a vehicle/REESS type, pursuant to this Regulation may be withdrawn if the requirements laid down in paragraph 8. above are not complied with, or if the vehicle/REESS or its components fail to pass the tests provided for in paragraph 8.3.5. above.

9.2. If a Contracting Party to the Agreement applying this Regulation withdraws an approval it has previously granted, it shall forthwith so notify the other Contracting Parties applying this Regulation, by means of a communication form conforming to the Model in Annex 1 (Part 1 or Part 2) to this Regulation.

10. Production definitively discontinued

If the holder of the approval completely ceases to manufacture a vehicle/REESS type approved in accordance with this Regulation, he shall so inform the Authority which granted the approval. Upon receiving the relevant communication, that Authority shall inform thereof the other Contracting Parties to the 1958 Agreement applying this Regulation by means of a communication form conforming to the model in Annex 1 (Part 1 or Part 2) to this Regulation.

11. Names and addresses of Technical Services responsible for conducting approval tests and of Type Approval Authorities

The Contracting Parties to the 1958 Agreement applying this Regulation shall communicate to the United Nations Secretariat the names and addresses of the Technical Services responsible for conducting approval tests and the Type Approval Authorities which grant approval and to which forms certifying approval or extension or refusal or withdrawal of approval or production definitively discontinued, issued in other countries are to be sent.

12. Transitional provisions

12.1. As from the official date of entry into force of the 02 series of amendments, no Contracting Party applying this Regulation shall refuse to grant approval under this Regulation as amended by the 02 series of amendments.

12.2. As from [36] months after the date of entry into force of the 02 series of amendments, Contracting Parties applying this Regulation shall grant approvals only if the vehicle type to be approved meets the requirements of this Regulation as amended by the 02 series of amendments.

12.3. Contracting Parties applying this Regulation shall continue to grant approvals to those types of vehicles which comply with the requirements of this Regulation as amended by the preceding series of amendments during the [36] months' period which follows the date of entry into force of the 02 series of amendments.

12.4. Contracting Parties applying this Regulation shall not refuse to grant extensions of approval to the preceding series of amendments to this Regulation.

12.5. Notwithstanding the transitional provisions above, Contracting Parties whose application of this Regulation comes into force after the date of entry into force of the most recent series of amendments are not obliged to accept approvals which were granted in accordance with any of the preceding series of amendments to this Regulation.

Annex 1 - Part 1

Communication

(



Issued by: Name of administration:

………….......................

………….......................

………….......................

………….......................



Maximum format: A4 (210 x 297 mm))

5

Concerning6: Approval granted,

Approval extended,

Approval refused,

Approval withdrawn,

Production definitively discontinued,

of a vehicle type with regard to its electrical safety pursuant to Regulation No. 100

Approval No. ............................................ Extension No. ............................................




1. Trade name or mark of the vehicle:

2. Vehicle type:

3. Vehicle category:

4. Manufacturer's name and address:



5. If applicable, name and address of manufacturer's representative:



6. Description of the vehicle:

6.1. REESS type:

6.1.1. The approval number of the REESS or descriptions of the REESS2

6.2. Working voltage:

6.3. Propulsion system (e.g. hybrid, electric):

7. Vehicle submitted for approval on:

8. Technical Service responsible for conducting approval tests:



9. Date of report issued by that Service:

10. Number of report issued by that Service:

11. Location of the approval mark:

12. Reason(s) for extension of approval (if applicable)2:

13. Approval granted/extended/refused/withdrawn2:

14. Place:

15. Date:

16. Signature:

17. The documents filed with the request for approval or extension may be obtained on request.





Annex 1 – Part 2

Communication

(Maximum format: A4 (210 x 297 mm))


issued by: Name of administration:

......................................

......................................

......................................





1








Concerning:2 Approval granted

Approval extended

Approval refused

Approval withdrawn

Production definitively discontinued

of a REESS type as component/separate technical unit2 pursuant to Regulation No. 100

Approval No. ........………………….. Extension No. ..........................................................

1. Trade name or mark of the REESS:

2. Type of REESS:

3. Manufacturer's name and address:

4. If applicable, name and address of manufacturer's representative:

5. Description of the REESS:

6. Installation restrictions applicable to the REESS as described in paragraphs 6.4 and 6.5:

7. REESS submitted for approval on:

8. Technical Service responsible for conducting approval tests:

9. Date of report issued by that Service:

10. Number of report issued by that Service:

11. Location of the approval mark:

12. Reason(s) for extension of approval (if applicable)2:

13. Approval granted/extended/refused/withdrawn2:

14. Place:

15. Date:

16. Signature:

17. The documents filed with the request for approval or extension may be obtained on request.













Annex 2

Arrangements of the approval marks

Model A

(See paragraph 4.4. of this Regulation)

Figure 1



100 R - 022492

a = 8 mm min.

The approval mark in Figure 1 affixed to a vehicle shows that the road vehicle type concerned has been approved in the Netherlands (E 4), pursuant to Regulation No. 100, and under the approval number 022492. The first two digits of the approval number indicate that the approval was granted in accordance with the requirements of Regulation No. 100 as amended by 02 series of amendments.

Figure 2


100 RES - 022492



a = 8 mm min.

The approval mark in Figure 2 affixed to a REESS shows that the REESS type ("ES") concerned has been approved in the Netherlands (E 4), pursuant to Regulation No. 100, and under the approval number 022492. The first two digits of the approval number indicate that the approval was granted in accordance with the requirements of Regulation No. 100 as amended by 02 series of amendments.

Model B

(See paragraph 4.5. of this Regulation)

100

02 2492

42

00 1628






a = 8 mm min.

The above approval mark affixed to a vehicle shows that the road vehicle concerned has been approved in the Netherlands (E4) pursuant to Regulations Nos. 100 and 427. The approval number indicates that, at the dates when the respective approvals were granted, Regulation No. 100 was amended by the 02 series of amendments and Regulation No. 42 was still in its original form.

Annex 3

Protection against direct contacts of parts under voltage

1. Access probes

Access probes to verify the protection of persons against access to live parts are given in Table 1.

2. Test conditions

The access probe is pushed against any openings of the enclosure with the force specified in Table 1. If it partly or fully penetrates, it is placed in every possible position, but in no case shall the stop face fully penetrate through the opening.

Internal barriers are considered part of the enclosure

A low-voltage supply (of not less than 40 V and not more than 50 V) in series with a suitable lamp should be connected, if necessary, between the probe and live parts inside the barrier or enclosure.

The signal-circuit method should also be applied to the moving live parts of high voltage equipment.

Internal moving parts may be operated slowly, where this is possible.

3. Acceptance conditions

The access probe shall not touch live parts.

If this requirement is verified by a signal circuit between the probe and live parts, the lamp shall not light.

In the case of the test for IPXXB, the jointed test finger may penetrate to its 80 mm length, but the stop face (diameter 50 mm x 20 mm) shall not pass through the opening. Starting from the straight position, both joints of the test finger shall be successively bent through an angle of up
to 90 degrees with respect to the axis of the adjoining section of the finger and shall be placed in every possible position.


In case of the tests for IPXXD, the access probe may penetrate to its full length, but the stop face shall not fully penetrate through the opening.

Table 1

Access probes for the tests for protection of persons against access to hazardous parts



Figure 1

Jointed test finger


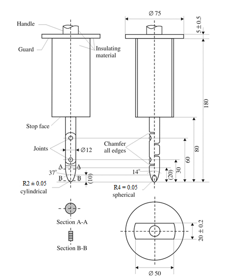
R2 ± 0.05

R4 = 0.05

spherical



Material: metal, except where otherwise specified

Linear dimensions in millimeters

Tolerances on dimensions without specific tolerance:

(a) Nn angles: 0/-10°;

(b) On linear dimensions: up to 25 mm: 0/-0.05 mm over 25 mm: ±0.2 mm

Both joints shall permit movement in the same plane and the same direction through an angle of 90° with a 0 to +10° tolerance.

Annex 4A

Isolation resistance measurement method for vehicle based tests

1. General

The isolation resistance for each high voltage bus of the vehicle shall be measured or shall be determined by calculation using measurement values from each part or component unit of a high voltage bus (hereinafter referred to as the "divided measurement").

2. Measurement method

The isolation resistance measurement shall be conducted by selecting an appropriate measurement method from among those listed in paragraphs 2.1. through 2.2. of this annex, depending on the electrical charge of the live parts or the isolation resistance, etc.

The range of the electrical circuit to be measured shall be clarified in advance, using electrical circuit diagrams, etc.

Moreover, modification necessary for measuring the isolation resistance may be carried out, such as removal of the cover in order to reach the live parts, drawing of measurement lines, change in software, etc.

In cases where the measured values are not stable due to the operation of the on-board isolation resistance monitoring system, etc., necessary modification for conducting the measurement may be carried out, such as stopping of the operation of the device concerned or removing it. Furthermore, when the device is removed, it shall be proven, using drawings, etc., that it will not change the isolation resistance between the live parts and the electrical chassis.

Utmost care shall be exercised as to short circuit, electric shock, etc., for this confirmation might require direct operations of the high-voltage circuit.

2.1. Measurement method using voltage from off-vehicle sources

2.1.1. Measurement instrument

An isolation resistance test instrument capable of applying a DC voltage higher than the working voltage of the high voltage bus shall be used.

2.1.2. Measurement method

An insulator resistance test instrument shall be connected between the live parts and the electrical chassis. Then, the isolation resistance shall be measured by applying a DC voltage at least half of the working voltage of the high voltage bus.

If the system has several voltage ranges (e.g. because of boost converter) in galvanically connected circuit and some of the components cannot withstand the working voltage of the entire circuit, the isolation resistance between those components and the electrical chassis can be measured separately by applying at least half of their own working voltage with those component disconnected.

2.2. Measurement method using the vehicle’s own REESS as DC voltage source

2.2.1. Test vehicle conditions

The high voltage-bus shall be energized by the vehicle’s own REESS and/or energy conversion system and the voltage level of the REESS and/or energy conversion system throughout the test shall be at least the nominal operating voltage as specified by the vehicle manufacturer.

2.2.2. Measurement instrument

The voltmeter used in this test shall measure DC values and shall have an internal resistance of at least 10 MΩ.

2.2.3. Measurement method

2.2.3.1. First step

The voltage is measured as shown in Figure 1 and the high voltage bus voltage (Vb) is recorded. Vb shall be equal to or greater than the nominal operating voltage of the REESS and/or energy conversion system as specified by the vehicle manufacturer.

Figure 1

Measurement of Vb, V1, V2



2.2.3.2. Second step

Measure and record the voltage (V1) between the negative side of the high voltage bus and the electrical chassis (see Figure 1).

2.2.3.3. Third step

Measure and record the voltage (V2) between the positive side of the high voltage bus and the electrical chassis (see Figure 1).

2.2.3.4. Fourth step

If V1 is greater than or equal to V2, insert a standard known resistance (Ro) between the negative side of the high voltage bus and the electrical chassis. With Ro installed, measure the voltage (V1’) between the negative side of the high voltage bus and the electrical chassis (see Figure 2).

Calculate the electrical isolation (Ri) according to the following formula:

Ri = Ro*(Vb/V1’ – Vb/V1) or Ri = Ro*Vb*(1/V1’ – 1/V1)


Figure 2

Measurement of V1’



If V2 is greater than V1, insert a standard known resistance (Ro) between the positive side of the high voltage bus and the electrical chassis. With Ro installed, measure the voltage (V2’) between the positive side of the high voltage bus and the electrical chassis (see Figure 3). Calculate the electrical isolation (Ri) according to the formula shown. Divide this electrical isolation value (in Ω) by the nominal operating voltage of the high voltage bus (in volts).

Calculate the electrical isolation (Ri) according to the following formula:

Ri = Ro*(Vb/V2’ – Vb/V2) or Ri = Ro*Vb*(1/V2’ – 1/V2)


Figure 3

Measurement of V2’



2.2.3.5. Fifth step

The electrical isolation value Ri (in Ω) divided by the working voltage of the high voltage bus (in volts) results in the isolation resistance (in Ω/V).

Note: The standard known resistance Ro (in Ω) should be the value of the minimum required isolation resistance (in Ω/V) multiplied by the working voltage of the vehicle plus/minus 20 per cent (in volts). Ro is not required to be precisely this value since the equations are valid for any Ro; however, a Ro value in this range should provide good resolution for the voltage measurements.

Annex 4B

Isolation resistance measurement method for component based tests of a REESS

1. Measurement method

The isolation resistance measurement shall be conducted by selecting an appropriate measurement method from among those listed in paragraphs 1.1. through 1.2. of this annex, depending on the electrical charge of the live parts or the isolation resistance, etc.

If the operating voltage of the tested-device (Vb, Figure 1) cannot be measured (e.g. due to disconnection of the electric circuit caused by main contactors or fuse operation) the test may be performed with a modified test device to allow measurement of the internal voltages (upstream the main contactors).

These modifications shall not influence the test results.

The range of the electrical circuit to be measured shall be clarified in advance, using electrical circuit diagrams, etc. If the high voltage buses are galvanically isolated from each other, isolation resistance shall be measured for each electrical circuit.

Moreover, modification necessary for measuring the isolation resistance may be carried out, such as removal of the cover in order to reach the live parts, drawing of measurement lines, change in software, etc.

In cases where the measured values are not stable due to the operation of the isolation resistance monitoring system, etc., necessary modification for conducting the measurement may be carried out, such as stopping the operation of the device concerned or removing it. Furthermore, when the device is removed, it shall be proven, using drawings, etc., that it will not change the isolation resistance between the live parts and the ground connection designated by the manufacturer as a point to be connected to the electrical chassis when installed on the vehicle.

Utmost care shall be exercised as to short circuit, electric shock, etc., for this confirmation might require direct operations of the high-voltage circuit.

1.1. Measurement method using voltage from external sources

1.1.1. Measurement instrument

An isolation resistance test instrument capable of applying a DC voltage higher than the nominal voltage of the tested-device shall be used.

1.1.2. Measurement method

An insulation resistance test instrument shall be connected between the live parts and the ground connection. Then, the isolation resistance shall be measured.

If the system has several voltage ranges (e.g. because of boost converter) in a galvanically connected circuit and some of the components cannot withstand the working voltage of the entire circuit, the isolation resistance between those components and the ground connection can be measured separately by applying at least half of their own working voltage with those component disconnected.

1.2. Measurement method using the tested-device as DC voltage source

1.2.1. Test conditions

The voltage level of the tested-device throughout the test shall be at least the nominal operating voltage of the tested-device.

1.2.2. Measurement instrument

The voltmeter used in this test shall measure DC values and shall have an internal resistance of at least 10 MΩ.

1.2.3. Measurement method

1.2.3.1. First step

The voltage is measured as shown in Figure 1 and the operating voltage of the tested-device (Vb, Figure 1) is recorded. Vb shall be equal to or greater than the nominal operating voltage of the tested-device.

Figure 1



1.2.3.2. Second step

Measure and record the voltage (V1) between the negative pole of the tested-device and the ground connection (Figure 1).

1.2.3.3. Third step

Measure and record the voltage (V2) between the positive pole of the tested-device and the ground connection (Figure 1).

1.2.3.4. Fourth step

If V1 is greater than or equal to V2, insert a standard known resistance (Ro) between the negative pole of the tested-device and the ground connection. With Ro installed, measure the voltage (V1’) between the negative pole of the tested-device and the ground connection (see Figure 2).

Calculate the electrical isolation (Ri) according to the following formula:

Ri = Ro*(Vb/V1’ – Vb/V1) or Ri = Ro*Vb*(1/V1’ – 1/V1)


Figure 2



If V2 is greater than V1, insert a standard known resistance (Ro) between the positive pole of the tested-device and the ground connection. With Ro installed, measure the voltage (V2’) between the positive pole of the tested-device and the ground connection (see Figure 3).

Calculate the electrical isolation (Ri) according to the following formula:

Ri = Ro*(Vb/V2’ – Vb/V2) or Ri = Ro*Vb*(1/V2’ – 1/V2)


Figure 3



1.2.3.5. Fifth step

The electrical isolation value Ri (in Ω) divided by the nominal voltage of the tested-device (in volts) results in the isolation resistance (in Ω/V).

Note 1: The standard known resistance Ro (in Ω) should be the value of the minimum required isolation resistance (in Ω/V) multiplied by the nominal voltage of the tested-device plus/minus 20 per cent (in volts). Ro is not required to be precisely this value since the equations are valid for any Ro; however, a Ro value in this range should provide good resolution for the voltage measurements.

Annex 5

Confirmation method for function of on-board isolation resistance monitoring system

The function of the on-board isolation resistance monitoring system shall be confirmed by the following method:

Insert a resistor that does not cause the isolation resistance between the terminal being monitored and the electrical chassis to drop below the minimum required isolation resistance value. The warning shall be activated.





Annex 6 - Part 1

Essential characteristics of road vehicles or systems

1. General

1.1. Make (trade name of manufacturer):

1.2. Type:

1.3. Vehicle category:

1.4. Commercial name(s) if available:



1.5. Manufacturer's name and address:



1.6. If applicable, name and address of manufacturer's representative:

1.7. Drawing and/or photograph of the vehicle:

1.8. Approval number of the REESS:

2. Electric motor (traction motor)

2.1. Type (winding, excitation):

2.2. Maximum net power and / or maximum 30 minutes power (kW):

3. REESS

3.1. Trade name and mark of the REESS:

3.2. Indication of all types of cells:

3.2.1. The cell chemistry:

3.2.2. Physical dimensions:

3.2.3. Capacity of the cell (Ah):

3.3. Description or drawing(s) or picture(s) of the REESS explaining:

3.3.1. Structure:

3.3.2. Configuration (number of cells, mode of connection, etc.):

3.3.3. Dimensions:

3.3.4. Casing (construction, materials and physical dimensions):

3.4. Electrical specification:

3.4.1. Nominal voltage (V):

3.4.2. Working voltage (V):

3.4.3. Capacity (Ah):

3.4.4. Maximum current (A):

3.5. Gas combination rate (in per cent):

3.6. Description or drawing(s) or picture(s) of the installation of the REESS in the vehicle:

3.6.1. Physical support:

3.7. Type of thermal management

3.8. Electronic control:

4. Fuel Cell (if any)

4.1. Trade name and mark of the fuel cell:



4.2. Types of fuel cell:

4.3. Nominal voltage (V):

4.4. Number of cells:

4.5. Type of cooling system (if any):

4.6. Max Power(kW):

5. Fuse and/or circuit breaker

5.1. Type:

5.2. Diagram showing the functional range:

6. Power wiring harness

6.1. Type:

7. Protection against Electric Shock

7.1. Description of the protection concept:

8. Additional data

8.1. Brief description of the power circuit components installation or drawings/
pictures showing the location of the power circuit components installation:


8.2 Schematic diagram of all electrical functions included in power circuit: 

8.3. Working voltage (V):



Annex 6 - Part 2

Essential characteristics of REESS

1. REESS

1.1. Trade name and mark of the REESS:

1.2. Indication of all types of cells:

1.2.1. The cell chemistry:

1.2.2. Physical dimensions:

1.2.3. Capacity of the cell (Ah):

1.3. Description or drawing(s) or picture(s) of the REESS explaining

1.3.1. Structure:

1.3.2. Configuration (number of cells, mode of connection, etc.):

1.3.3. Dimensions:

1.3.4. Casing (construction, materials and physical dimensions):

1.4. Electrical specification

1.4.1. Nominal voltage (V):

1.4.2. Working voltage (V):

1.4.3. Capacity (Ah):

1.4.4. Maximum current (A):

1.5. Gas combination rate (in percentage):

1.6. Description or drawing(s) or picture(s) of the installation of the REESS in the vehicle:

1.6.1. Physical support:

1.7. Type of thermal management:

1.8. Electronic control:

1.9. Category of vehicles on which the REESS can be installed:





Annex 7

Determination of hydrogen emissions during the charge procedures of the REESS

1. Introduction

This annex describes the procedure for the determination of hydrogen emissions during the charge procedures of the REESS of all road vehicles, according to paragraph 5.4. of this Regulation.

2. Description of test

The hydrogen emission test (Figure 7.1 of the present annex) is conducted in order to determine hydrogen emissions during the charge procedures of the REESS with the charger. The test consists in the following steps:

(a) Vehicle/REESS preparation;

(b) Discharge of theREESS;

(c) Determination of hydrogen emissions during a normal charge;

(d) Determination of hydrogen emissions during a charge carried out with the charger failure.

3. Tests

3.1. Vehicle based test

3.1.1. The vehicle shall be in good mechanical condition and have been driven at least 300 km during seven days before the test. The vehicle shall be equipped with the REESS subject to the test of hydrogen emissions, over this period.

3.1.2. If the REESS is used at a temperature above the ambient temperature, the operator shall follow the manufacturer's procedure in order to keep the REESS temperature in normal functioning range.

The manufacturer's representative shall be able to certify that the temperature conditioning system of the REESS is neither damaged nor presenting a capacity defect.

3.2. Component based test

3.2.1. The REESS shall be in good mechanical condition and have been subject to minimum of 5 standard cycles (as specified in Annex 8, Appendix 1).

3.2.2. If the REESS is used at a temperature above the ambient temperature, the operator shall follow the manufacturer's procedure in order to keep the REESS temperature in its normal functioning range.

The manufacturer's representative shall be able to certify that the temperature conditioning system of the REESS is neither damaged nor presenting a capacity defect

Figure 7.1

Determination of hydrogen emissions during the charge procedures of the REESS









































































4. Test equipment for hydrogen emission test

4.1. Chassis dynamometer

The chassis dynamometer shall meet the requirements of the 06 series of amendments to Regulation No. 83.

4.2. Hydrogen emission measurement enclosure

The hydrogen emission measurement enclosure shall be a gas-tight measuring chamber able to contain the vehicle/REESS under test. The vehicle/REESS shall be accessible from all sides and the enclosure when sealed shall be gas-tight in accordance with Appendix 1 to this annex. The inner surface of the enclosure shall be impermeable and non‑reactive to hydrogen. The temperature conditioning system shall be capable of controlling the internal enclosure air temperature to follow the prescribed temperature throughout the test, with an average tolerance of ±2 K over the duration of the test.

To accommodate the volume changes due to enclosure hydrogen emissions, either a variable-volume or another test equipment may be used. The variable-volume enclosure expands and contracts in response to the hydrogen emissions in the enclosure. Two potential means of accommodating the internal volume changes are movable panels, or a bellows design, in which impermeable bags inside the enclosure expand and contract in response to internal pressure changes by exchanging air from outside the enclosure. Any design for volume accommodation shall maintain the integrity of the enclosure as specified in Appendix 1 to this annex.

Any method of volume accommodation shall limit the differential between the enclosure internal pressure and the barometric pressure to a maximum value of ±5hPa.

The enclosure shall be capable of latching to a fixed volume. A variable volume enclosure shall be capable of accommodating a change from its "nominal volume" (see Annex 7, Appendix 1, paragraph 2.1.1.), taking into account hydrogen emissions during testing.

4.3. Analytical systems

4.3.1. Hydrogen analyser

4.3.1.1. The atmosphere within the chamber is monitored using a hydrogen analyser (electrochemical detector type) or a chromatograph with thermal conductivity detection. Sample gas shall be drawn from the mid-point of one side-wall or roof of the chamber and any bypass flow shall be returned to the enclosure, preferably to a point immediately downstream of the mixing fan.

4.3.1.2. The hydrogen analyser shall have a response time to 90 per cent of final reading of less than 10 seconds. Its stability shall be better than 2 per cent of full scale at zero and at 80 per cent ± 20 per cent of full scale, over
a 15-minute period for all operational ranges.


4.3.1.3. The repeatability of the analyser expressed as one standard deviation shall be better than 1 per cent of full scale, at zero and at 80 per cent ± 20 per cent of full scale on all ranges used.

4.3.1.4. The operational ranges of the analyser shall be chosen to give best resolution over the measurement, calibration and leak checking procedures.

4.3.2. Hydrogen analyser data recording system

The hydrogen analyser shall be fitted with a device to record electrical signal output, at a frequency of at least once per minute. The recording system shall have operating characteristics at least equivalent to the signal being recorded and shall provide a permanent record of results. The recording shall show a clear indication of the beginning and end of the normal charge test and charging failure operation.

4.4. Temperature recording

4.4.1. The temperature in the chamber is recorded at two points by temperature sensors, which are connected so as to show a mean value. The measuring points are extended approximately 0.1 m into the enclosure from the vertical centre line of each side-wall at a height of 0.9 ± 0.2 m.

4.4.2. The temperatures in the proximity of the cells are recorded by means of the sensors.

4.4.3. Temperatures shall, throughout the hydrogen emission measurements, be recorded at a frequency of at least once per minute.

4.4.4. The accuracy of the temperature recording system shall be within ±1.0 K and the temperature shall be capable of being resolved to ±0.1 K.

4.4.5. The recording or data processing system shall be capable of resolving time to ± 15 seconds.

4.5. Pressure recording

4.5.1. The difference p between barometric pressure within the test area and the enclosure internal pressure shall, throughout the hydrogen emission measurements, be recorded at a frequency of at least once per minute.

4.5.2. The accuracy of the pressure recording system shall be within ±2 hPa and the pressure shall be capable of being resolved to ±0.2 hPa.

4.5.3. The recording or data processing system shall be capable of resolving time to ±15 seconds.

4.6. Voltage and current intensity recording

4.6.1. The charger voltage and current intensity (battery) shall, throughout the hydrogen emission measurements, be recorded at a frequency of at least once per minute.

4.6.2. The accuracy of the voltage recording system shall be within ±1 V and the voltage shall be capable of being resolved to ±0.1 V.

4.6.3. The accuracy of the current intensity recording system shall be within ±0.5 A and the current intensity shall be capable of being resolved to ±0.05 A.

4.6.4. The recording or data processing system shall be capable of resolving time to ±15 seconds.

4.7. Fans

The chamber shall be equipped with one or more fans or blowers with a possible flow of 0.1 to 0.5 m3/second in order to thoroughly mix the atmosphere in the enclosure. It shall be possible to reach a homogeneous temperature and hydrogen concentration in the chamber during measurements. The vehicle in the enclosure shall not be subjected to a direct stream of air from the fans or blowers.

4.8. Gases

4.8.1. The following pure gases shall be available for calibration and operation:

(a) Purified synthetic air (purity < 1 ppm C1 equivalent; < 1 ppm CO; < 400 ppm CO2; < 0.1 ppm NO ); oxygen content between 18 and 21 per cent by volume,

(b) Hydrogen ( H2 ), 99.5 per cent minimum purity.

4.8.2. Calibration and span gases shall contain mixtures of hydrogen (H2) and purified synthetic air. The real concentrations of a calibration gas shall be within ±2 per cent of the nominal values. The accuracy of the diluted gases obtained when using a gas divider shall be within ±2 per cent of the nominal value. The concentrations specified in Appendix 1 may also be obtained by a gas divider using synthetic air as the dilution gas.

5. Test procedure

The test consists in the five following steps:

(a) vehicle/REESS preparation;

(b) discharge of theREESS;

(c) determination of hydrogen emissions during a normal charge;

(d) discharge of the traction battery;

(e) determination of hydrogen emissions during a charge carried out with the charger failure.

If the vehicle/REESS has to be moved between two steps, it shall be pushed to the following test area.

5.1. Vehicle based test

5.1.1. Vehicle preparation

The ageing of REESS shall be checked, proving that the vehicle has performed at least 300 km during seven days before the test. During this period, the vehicle shall be equipped with the traction battery submitted to the hydrogen emission test. If this cannot be demonstrated then the following procedure will be applied.

5.1.1.1. Discharges and initial charges of the REESS

The procedure starts with the discharge of the REESS of the vehicle while driving on the test track or on a chassis dynamometer at a steady speed of 70 per cent ± 5 per cent of the maximum speed of the vehicle during 30 minutes.

Discharging is stopped:

(a) When the vehicle is not able to run at 65 per cent of the maximum thirty minutes speed, or

(b) When an indication to stop the vehicle is given to the driver by the standard on-board instrumentation, or

(c) After having covered the distance of 100 km.

5.1.1.2. Initial charge of the REESS

The charge is carried out:

(a) With the charger;

(b) In an ambient temperature between 293 K and 303 K.

The procedure excludes all types of external chargers.

The end of REESS charge criteria corresponds to an automatic stop given by the charger.

This procedure includes all types of special charges that could be automatically or manually initiated like, for instance, the equalisation charges or the servicing charges.

5.1.1.3. Procedure from paragraphs 5.1.1.1. and 5.1.1.2. shall be repeated two times.

5.1.2. Discharge of the REESS

The REESS is discharged while driving on the test track or on a chassis dynamometer at a steady speed of 70 per cent ± 5 per cent from the maximum thirty minutes speed of the vehicle.

Stopping the discharge occurs:

(a) When an indication to stop the vehicle is given to the driver by the standard on-board instrumentation, or

(b) When the maximum speed of the vehicle is lower than 20 km/h.

5.1.3. Soak

Within fifteen minutes of completing the battery discharge operation specified in paragraph 5.2., the vehicle is parked in the soak area. The vehicle is parked for a minimum of 12 hours and a maximum of 36 hours, between the end of the traction battery discharge and the start of the hydrogen emission test during a normal charge. For this period, the vehicle shall be soaked at 293 K ± 2 K.

5.1.4. Hydrogen emission test during a normal charge

5.1.4.1. Before the completion of the soak period, the measuring chamber shall be purged for several minutes until a stable hydrogen background is obtained. The enclosure mixing fan(s) shall also be turned on at this time.

5.1.4.2. The hydrogen analyser shall be zeroed and spanned immediately prior to the test.

5.1.4.3. At the end of the soak, the test vehicle, with the engine shut off and the test vehicle windows and luggage compartment opened shall be moved into the measuring chamber.

5.1.4.4. The vehicle shall be connected to the mains. The REESS is charged according to normal charge procedure as specified in paragraph 5.1.4.7. below.

5.1.4.5. The enclosure doors are closed and sealed gas-tight within two minutes from electrical interlock of the normal charge step.

5.1.4.6. The start of a normal charge for hydrogen emission test period begins when the chamber is sealed. The hydrogen concentration, temperature and barometric pressure are measured to give the initial readings CH2i, Ti and Pi for the normal charge test.

These figures are used in the hydrogen emission calculation (paragraph 6. of this annex). The ambient enclosure temperature T shall not be less than 291 K and no more than 295 K during the normal charge period.

5.1.4.7. Procedure of normal charge

The normal charge is carried out with the charger and consists of the following steps:

(a) Charging at constant power during t1;

(b) Over-charging at constant current during t2. Over-charging intensity is specified by manufacturer and corresponds to the one used during equalisation charging.

The end of REESS charge criteria corresponds to an automatic stop given by the charger to a charging time of t1 + t2. This charging time will be limited to t1 + 5 h, even if a clear indication is given to the driver by the standard instrumentation that the battery is not yet fully charged.

5.1.4.8. The hydrogen analyser shall be zeroed and spanned immediately before the end of the test.

5.1.4.9. The end of the emission sampling period occurs t1 + t2 or t1 + 5 hours after the beginning of the initial sampling, as specified in paragraph 5.1.4.6. of this annex. The different times elapsed are recorded. The hydrogen concentration, temperature and barometric pressure are measured to give the final readings CH2f, Tf and Pf for the normal charge test, used for the calculation in paragraph 6. of this annex.

5.1.5. Hydrogen emission test with the charger failure

5.1.5.1. Within seven days maximum after having completed the prior test, the procedure starts with the discharge of the REESS of the vehicle according to paragraph 5.1.2. of this annex.

5.1.5.2. The steps of the procedure in paragraph 5.1.3. of this annex shall be repeated.

5.1.5.3. Before the completion of the soak period, the measuring chamber shall be purged for several minutes until a stable hydrogen background is obtained. The enclosure mixing fan(s) shall also be turned on at this time.

5.1.5.4. The hydrogen analyser shall be zeroed and spanned immediately prior to the test.

5.1.5.5. At the end of the soak, the test vehicle, with the engine shut off and the test vehicle windows and luggage compartment opened shall be moved into the measuring chamber.

5.1.5.6. The vehicle shall be connected to the mains. The REESS is charged according to failure charge procedure as specified in paragraph 5.1.5.9. below.

5.1.5.7. The enclosure doors are closed and sealed gas-tight within two minutes from electrical interlock of the failure charge step.

5.1.5.8. The start of a failure charge for hydrogen emission test period begins when the chamber is sealed. The hydrogen concentration, temperature and barometric pressure are measured to give the initial readings CH2i, Ti and Pi for the failure charge test.

These figures are used in the hydrogen emission calculation (paragraph 6. of this annex). The ambient enclosure temperature T shall not be less than 291 K and no more than 295 K during the charging failure period.

5.1.5.9. Procedure of charging failure

The charging failure is carried out with the suitable charger and consists of the following steps:

(a) Charging at constant power during t'1;

(b) Charging at maximum current as recommended by the manufacturer during 30 minutes. During this phase, the charger shall supply maximum current as recommended by the manufacturer.

5.1.5.10. The hydrogen analyser shall be zeroed and spanned immediately before the end of the test.

5.1.5.11. The end of test period occurs t'1 + 30 minutes after the beginning of the initial sampling, as specified in paragraph 5.1.5.8. above. The times elapsed are recorded. The hydrogen concentration, temperature and barometric pressure are measured to give the final readings CH2f, Tf and Pf for the charging failure test, used for the calculation in paragraph 6. of this annex.

5.2. Component based test

5.2.1. REESS preparation

The ageing of REESS shall be checked, to confirm that the REESS has performed at least 5 standard cycles (as specified in Annex 8, Appendix 1).

5.2.2. Discharge of the REESS

The REESS is discharged at 70 per cent ± 5 per cent of the nominal power of the system.

Stopping the discharge occurs when minimum SOC as specified by the manufacturer is reached.

5.2.3. Soak

Within 15 minutes of the end of the REESS discharge operation specified in paragraph 5.2.2. above, and before the start of the hydrogen emission test, the REESS shall be soaked at 293 K ± 2 K for a minimum period of 12 hours and a maximum of period of 36 hours.

5.2.4. Hydrogen emission test during a normal charge

5.2.4.1. Before the completion of the REESS's soak period, the measuring chamber shall be purged for several minutes until a stable hydrogen background is obtained. The enclosure mixing fan(s) shall also be turned on at this time.

5.2.4.2. The hydrogen analyser shall be zeroed and spanned immediately prior to the test.

5.2.4.3. At the end of the soak period, the REESS shall be moved into the measuring chamber.

5.2.4.4. The REESS shall be charged in accordance with the normal charge procedure as specified in paragraph 5.2.4.7. below.

5.2.4.5. The chamber shall be closed and sealed gas-tight within two minutes of the electrical interlock of the normal charge step.

5.2.4.6. The start of a normal charge for hydrogen emission test period shall begin when the chamber is sealed. The hydrogen concentration, temperature and barometric pressure are measured to give the initial readings CH2i, Ti and Pi for the normal charge test.

These figures are used in the hydrogen emission calculation (paragraph 6. of this annex). The ambient enclosure temperature T shall not be less than 291 K and no more than 295 K during the normal charge period.

5.2.4.7. Procedure of normal charge

The normal charge is carried out with a suitable charger and consists of the following steps:

(a) Charging at constant power during t1;

(a) Over-charging at constant current during t2. Over-charging intensity is specified by manufacturer and corresponding to that used during equalisation charging.

The end of REESS charge criteria corresponds to an automatic stop given by the charger to a charging time of t1 + t2. This charging time will be limited to t1 + 5 h, even if a clear indication is given by a suitable instrumentation that the REESS is not yet fully charged.

5.2.4.8. The hydrogen analyser shall be zeroed and spanned immediately before the end of the test.

5.2.4.9. The end of the emission sampling period occurs t1 + t2 or t1 + 5 h after the beginning of the initial sampling, as specified in paragraph 5.2.4.6. above. The different times elapsed are recorded. The hydrogen concentration, temperature and barometric pressure are measured to give the final readings CH2f, Tf and Pf for the normal charge test, used for the calculation in paragraph 6. of this annex

5.2.5. Hydrogen emission test with the charger failure

5.2.5.1. The test procedure shall start within a maximum of seven days after having completed the test in paragraph 5.2.4. above, the procedure shall start with the discharge of the REESS of the vehicle in accordance with paragraph 5.2.2. above.

5.2.5.2. The steps of the procedure in paragraph 5.2.3. above shall be repeated.

5.2.5.3. Before the completion of the soak period, the measuring chamber shall be purged for several minutes until a stable hydrogen background is obtained. The enclosure mixing fan(s) shall also be turned on at this time.

5.2.5.4. The hydrogen analyser shall be zeroed and spanned immediately prior to the test.

5.2.5.5. At the end of the soak the REESS shall be moved into the measuring chamber.

5.2.5.6. The REESS shall be charged according to the failure charge procedure as specified in paragraph 5.2.5.9. below.

5.2.5.7. The chamber shall be closed and sealed gas-tight within two minutes from electrical interlock of the failure charge step.

5.2.5.8. The start of a failure charge for hydrogen emission test period begins when the chamber is sealed. The hydrogen concentration, temperature and barometric pressure are measured to give the initial readings CH2i, Ti and Pi for the failure charge test.

These figures are used in the hydrogen emission calculation (paragraph 6. of this annex). The ambient enclosure temperature T shall not be less than 291 K and no more than 295 K during the charging failure period.

5.2.5.9. Procedure of charging failure

The charging failure is carried out with a suitable charger and consists of the following steps:

(a) Charging at constant power during t'1,

(b) Charging at maximum current as recommended by the manufacturer during 30 minutes. During this phase, the charger shall supply maximum current as recommended by the manufacturer.

5.2.5.10. The hydrogen analyser shall be zeroed and spanned immediately before the end of the test.

5.2.5.11. The end of test period occurs t'1 + 30 minutes after the beginning of the initial sampling, as specified in paragraph 5.2.5.8. above. The times elapsed are recorded. The hydrogen concentration, temperature and barometric pressure are measured to give the final readings CH2f, Tf and Pf for the charging failure test, used for the calculation in paragraph 6. below.

6. Calculation

The hydrogen emission tests described in paragraph 5. above allow the calculation of the hydrogen emissions from the normal charge and charging failure phases. Hydrogen emissions from each of these phases are calculated using the initial and final hydrogen concentrations, temperatures and pressures in the enclosure, together with the net enclosure volume.

The formula below is used:



Where:

MH2 = hydrogen mass, in grams

CH2 = measured hydrogen concentration in the enclosure, in ppm volume

V = net enclosure volume in cubic metres (m3) corrected for the volume of the vehicle, with the windows and the luggage compartment open. If the volume of the vehicle is not determined a volume of 1.42 m³ is subtracted.

Vout = compensation volume in m³, at the test temperature and pressure

T = ambient chamber temperature, in K

P = absolute enclosure pressure, in kPa

k = 2.42

Where: i is the initial reading

f is the final reading

6.1. Results of test

The hydrogen mass emissions for the REESS are:

MN = hydrogen mass emission for normal charge test, in grams

MD = hydrogen mass emission for charging failure test, in grams

Annex 7 ‑ Appendix 1

Calibration of equipment for hydrogen emission testing

1. Calibration frequency and methods

All equipment shall be calibrated before its initial use and then calibrated as often as necessary and in any case in the month before type approval testing. The calibration methods to be used are described in this appendix.

2. Calibration of the enclosure

2.1. Initial determination of enclosure internal volume

2.1.1. Before its initial use, the internal volume of the chamber shall be determined as follows. The internal dimensions of the chamber are carefully measured, taking into account any irregularities such as bracing struts. The internal volume of the chamber is determined from these measurements.

The enclosure shall be latched to a fixed volume when the enclosure is held at an ambient temperature of 293 K. This nominal volume shall be repeatable within ±0.5 per cent of the reported value.

2.1.2. The net internal volume is determined by subtracting 1.42 m3 from the internal volume of the chamber. Alternatively the volume of the test vehicle with the luggage compartment and windows open or REESS may be used instead of the 1.42 m3.

2.1.3. The chamber shall be checked as in paragraph 2.3. of this annex. If the hydrogen mass does not agree with the injected mass to within ±2 per cent then corrective action is required.

2.2. Determination of chamber background emissions

This operation determines that the chamber does not contain any materials that emit significant amounts of hydrogen. The check shall be carried out at the enclosure's introduction to service, after any operations in the enclosure which may affect background emissions and at a frequency of at least once per year.

2.2.1. Variable-volume enclosure may be operated in either latched or unlatched volume configuration, as described in paragraph 2.1.1. above. Ambient temperature shall be maintained at 293 K ± 2 K, throughout the four-hour period mentioned below.

2.2.2. The enclosure may be sealed and the mixing fan operated for a period of up to 12 hours before the four-hour background-sampling period begins.

2.2.3. The analyser (if required) shall be calibrated, then zeroed and spanned.

2.2.4. The enclosure shall be purged until a stable hydrogen reading is obtained, and the mixing fan turned on if not already on.

2.2.5. The chamber is then sealed and the background hydrogen concentration, temperature and barometric pressure are measured. These are the initial readings CH2i, Ti and Pi used in the enclosure background calculation.

2.2.6. The enclosure is allowed to stand undisturbed with the mixing fan on for a period of four hours.

2.2.7. At the end of this time the same analyser is used to measure the hydrogen concentration in the chamber. The temperature and the barometric pressure are also measured. These are the final readings CH2f, Tf and Pf.

2.2.8. The change in mass of hydrogen in the enclosure shall be calculated over the time of the test in accordance with paragraph 2.4. of this annex and shall not exceed 0.5 g.

2.3. Calibration and hydrogen retention test of the chamber

The calibration and hydrogen retention test in the chamber provides a check on the calculated volume (paragraph 2.1. above) and also measures any leak rate. The enclosure leak rate shall be determined at the enclosure's introduction to service, after any operations in the enclosure which may affect the integrity of the enclosure, and at least monthly thereafter. If six consecutive monthly retention checks are successfully completed without corrective action, the enclosure leak rate may be determined quarterly thereafter as long as no corrective action is required.

2.3.1. The enclosure shall be purged until a stable hydrogen concentration is reached. The mixing fan is turned on, if not already switched on. The hydrogen analyser is zeroed, calibrated if required, and spanned.

2.3.2. The enclosure shall be latched to the nominal volume position.

2.3.3. The ambient temperature control system is then turned on (if not already on) and adjusted for an initial temperature of 293 K.

2.3.4. When the enclosure temperature stabilizes at 293 K ± 2 K, the enclosure is sealed and the background concentration, temperature and barometric pressure measured. These are the initial readings CH2i, Ti and Pi used in the enclosure calibration.

2.3.5. The enclosure shall be unlatched from the nominal volume.

2.3.6. A quantity of approximately 100 g of hydrogen is injected into the enclosure. This mass of hydrogen shall be measured to an accuracy of ±2 per cent of the measured value.

2.3.7. The contents of the chamber shall be allowed to mix for five minutes and then the hydrogen concentration, temperature and barometric pressure are measured. These are the final readings CH2f, Tf and Pf for the calibration of the enclosure as well as the initial readings CH2i, Ti and Pi for the retention check.

2.3.8. On the basis of the readings taken in paragraphs 2.3.4 and 2.3.7 above and the formula in paragraph 2.4. below, the mass of hydrogen in the enclosure is calculated. This shall be within ±2 per cent of the mass of hydrogen measured in paragraph 2.3.6. above.

2.3.9. The contents of the chamber shall be allowed to mix for a minimum of 10 hours. At the completion of the period, the final hydrogen concentration, temperature and barometric pressure are measured and recorded. These are the final readings CH2f, Tf and Pf for the hydrogen retention check.

2.3.10. Using the formula in paragraph 2.4. below, the hydrogen mass is then calculated from the readings taken in paragraphs 2.3.7 and 2.3.9. above. This mass may not differ by more than 5 per cent from the hydrogen mass given by paragraph 2.3.8. above.

2.4. Calculation

The calculation of net hydrogen mass change within the enclosure is used to determine the chamber's hydrocarbon background and leak rate. Initial and final readings of hydrogen concentration, temperature and barometric pressure are used in the following formula to calculate the mass change.



Where:

MH2 = hydrogen mass, in grams

CH2 = measured hydrogen concentration into the enclosure, in ppm volume

V = enclosure volume in cubic metres (m3) as measured in paragraph 2.1.1. above.

Vout = compensation volume in m³, at the test temperature and pressure

T = ambient chamber temperature, in K

P = absolute enclosure pressure, in kPa

k = 2.42

Where: i is the initial reading

f is the final reading

3. Calibration of the hydrogen analyser

The analyser should be calibrated using hydrogen in air and purified synthetic air. See paragraph 4.8.2. of Annex 7.

Each of the normally used operating ranges are calibrated by the following procedure:

3.1. Establish the calibration curve by at least five calibration points spaced as evenly as possible over the operating range. The nominal concentration of the calibration gas with the highest concentrations to be at least 80 per cent of the full scale.

3.2. Calculate the calibration curve by the method of least squares. If the resulting polynomial degree is greater than three, then the number of calibration points shall be at least the number of the polynomial degree plus two.

3.3. The calibration curve shall not differ by more than two per cent from the nominal value of each calibration gas.

3.4. Using the coefficients of the polynomial derived from paragraph 3.2. above, a table of analyser readings against true concentrations shall be drawn by steps no greater than 1 per cent of full scale. This is to be carried out for each analyser range calibrated.

This table shall also contain other relevant data such as:

(a) date of calibration;

(b) span and zero potentiometer readings (where applicable);

(c) nominal scale;

(d) reference data of each calibration gas used;

(e) real and indicated value of each calibration gas used together with the percentage differences;

(f) calibration pressure of analyser.

3.5. Alternative methods (e.g. computer, electronically controlled range switch) can be used if it is proven to the technical service that these methods give equivalent accuracy.

Annex 7 ‑ Appendix 2

Essential characteristics of the vehicle family

1. Parameters defining the family relative to hydrogen emissions

The family may be defined by basic design parameters which shall be common to vehicles within the family. In some cases there may be interaction of parameters. These effects shall also be taken into consideration to ensure that only vehicles with similar hydrogen emission characteristics are included within the family.

2. To this end, those vehicle types whose parameters described below are identical are considered to belong to the same hydrogen emissions.

REESS:

(a) trade name or mark of theREESS;

(b) indication of all types of electrochemical couples used;

(c) number of REESS cells;

(d) number of REESS subsystems;

(e) nominal voltage of the REESS (V);

(f) REESS energy (kWh);

(g) gas combination rate (in per cent);

(h) type(s) of ventilation for REESS subsystem(s);

(i) type of cooling system (if any).

On-board charger:

(a) make and type of different charger parts;

(b) output nominal power (kW);

(c) maximum voltage of charge (V);

(d) maximum intensity of charge (A);

(e) make and type of control unit (if any);

(f) diagram of operating, controls and safety;

(g) characteristics of charge periods.

Annex 8

REESS test procedures

Annex 8 ‑ Appendix 1

Procedure for conducting a standard cycle

A standard cycle will start with a standard discharge followed by a standard charge.

Standard discharge:

Discharge rate: The discharge procedure including termination criteria shall be defined by the manufacturer. If not specified, then it shall be a discharge with 1C current.

Discharge limit (end voltage): Specified by the manufacturer

Rest period after discharge: Minimum 30 min

Standard charge: The charge procedure including termination criteria shall be defined by the manufacturer. If not specified, then it shall be a charge with C/3 current.

Annex 8A

Vibration test

1. Purpose

The purpose of this test is to verify the safety performance of the REESS under a vibration environment which the REESS will likely experience during the normal operation of the vehicle.

2. Installations

2.1. This test shall be conducted either with the complete REESS or with a related REESS subsystem(s) including the cells and their electrical connections. If the manufacturer chooses to test with related subsystem(s), the manufacturer shall demonstrate that the test result can reasonably represent the performance of the complete REESS with respect to its safety performance under the same conditions. If the electronic management unit for the REESS is not integrated in the casing enclosing the cells, then the electronic management unit may be omitted from installation on the tested-device if so requested by the manufacturer.

2.2. The tested-device shall be firmly secured to the platform of the vibration machine in such a manner as to ensure that the vibrations are directly transmitted to the tested-device.

3. Procedures

3.1. General test conditions

The following conditions shall apply to the tested-device:

(a) The test shall be conducted at an ambient temperature of 20 ± 10 °C;

(b) At the beginning of the test, the SOC shall be adjusted to a value in the upper 50 per cent of the normal operating SOC range of the tested-device;

(c) At the beginning of the test, all protection devices which affect the function(s) of the tested-device that are relevant to the outcome of the test shall be operational.

3.2. Test procedures

The tested-devices shall be subjected to a vibration having a sinusoidal waveform with a logarithmic sweep between 7 Hz and 50 Hz and back to 7 Hz traversed in 15 minutes. This cycle shall be repeated 12 times for a total of 3 hours in the vertical direction of the mounting orientation of the REESS as specified by the manufacturer.

The correlation between frequency and acceleration shall be as shown in Table 1:

Table 1
Frequency and acceleration

Frequency (Hz)

Acceleration (m/s2)

7 - 18

10

18 - 30

gradually reduced from 10 to 2

30 - 50

2


At the request of the manufacturer, a higher acceleration level as well as a higher maximum frequency may be used.

At the request of the manufacturer a vibration test profile determined by the vehicle-manufacturer, verified for the vehicle application and agreed with the Technical Service may be used as a substitute for the frequency - acceleration correlation of Table 1. The approval of a REESS tested according to this condition shall be limited to approvals for a specific vehicle type.

After the vibration, a standard cycle as described in Annex 8, Appendix 1 shall be conducted, if not inhibited by the tested-device.

The test shall end with an observation period of 1 h at the ambient temperature conditions of the test environment.

Annex 8B

Thermal shock and cycling test

1. Purpose

The purpose of this test is to verify the resistance of the REESS to sudden changes in temperature. The REESS shall undergo a specified number of temperature cycles, which start at ambient temperature followed by high and low temperature cycling. It simulates a rapid environmental temperature change which a REESS would likely experience during its life.

2. Installations

This test shall be conducted either with the complete REESS or with related REESS subsystem(s) of the REESS including the cells and their electrical connections. If the manufacturer chooses to test with related subsystem(s), the manufacturer shall demonstrate that the test result can reasonably represent the performance of the complete REESS with respect to its safety performance under the same conditions. If the electronic management unit for the REESS is not integrated in the casing enclosing the cells, then the electronic management unit may be omitted from installation on the tested-device if so requested by the manufacturer.

3. Procedures

3.1. General test conditions

The following conditions shall apply to the tested-device at the start of the test:

(a) The SOC shall be adjusted to a value in the upper 50 per cent of the normal operating SOC range;

(b) All protection devices, which would affect the function of the tested-device and which are relevant to the outcome of the test shall be operational.

3.2. Test procedure

The tested-device shall be stored for at least six hours at a test temperature equal to 60 ± 2 °C or higher if requested by the manufacturer, followed by storage for at least six hours at a test temperature equal to -40 ± 2 °C or lower if requested by the manufacturer. The maximum time interval between test temperature extremes shall be 30 minutes. This procedure shall be repeated until a minimum of 5 total cycles are completed, after which the tested-device shall be stored for 24 hours at an ambient temperature of 20 ± 10 °C.

After the storage for 24 hours, a standard cycle as described in Annex 8, Appendix 1 shall be conducted, if not inhibited by the tested-device.

The test shall end with an observation period of 1 h at the ambient temperature conditions of the test environment.

Annex 8C

Mechanical shock

1. Purpose

The purpose of this test is to verify the safety performance of the REESS under inertial loads which may occur during a vehicle crash.

2. Installation

2.1. This test shall be conducted either with the complete REESS or with related REESS subsystem(s) including the cells and their electrical connections. If the manufacturer chooses to test with related subsystem(s), the manufacturer shall demonstrate that the test result can reasonably represent the performance of the complete REESS with respect to its safety performance under the same conditions. If the electronic management unit for the REESS is not integrated in the casing enclosing the cells, then the electronic management unit may be omitted from installation on the tested-device if so requested by the manufacturer

2.2. The tested-device shall be connected to the test fixture only by the intended mountings provided for the purpose of attaching the REESS or REESS subsystem to the vehicle.

3. Procedures

3.1. General test conditions and requirements

The following condition shall apply to the test:

(a) The test shall be conducted at an ambient temperature of 20 ± 10 °C,

(b) At the beginning of the test, the SOC shall be adjusted to a value in the upper 50 per cent of the normal operating SOC range;

(c) At the beginning of the test, all protection devices which effect the function of the tested-device and which are relevant to the outcome of the test, shall be operational.

3.2. Test procedure

The tested-device shall be decelerated or, at the choice of the applicant, accelerated in compliance with the acceleration corridors which are specified in Tables 1 to 3. The Technical Service in consultation with the manufacturer shall decide whether the tests shall be conducted in either the positive or negative direction or both.

For each of the test pulses specified, a separate tested-device may be used.

The test pulse shall be within the minimum and maximum value as specified in Tables 1 to 3. A higher shock level and /or longer duration as described in the maximum value in Tables 1 to 3 can be applied to the tested-device if recommended by the manufacturer.

Figure 1
Generic description of test pulses




Table 1 for M1 and N1 vehicles:

Point

Time (ms)

Acceleration (g)

Longitudinal

Transverse

A

20

0

0

B

50

20

8

C

65

20

8

D

100

0

0

E

0

10

4.5

F

50

28

15

G

80

28

15

H

120

0

0






Table 2 for M2 and N2 vehicles:

Point

Time (ms)

Acceleration (g)

Longitudinal

Transverse

A

20

0

0

B

50

10

5

C

65

10

5

D

100

0

0

E

0

5

2.5

F

50

17

10

G

80

17

10

H

120

0

0


Table 3 for M3 and N3 vehicles:

Point

Time (ms)

Acceleration (g)

Longitudinal

Transverse

A

20

0

0

B

50

6,6

5

C

65

6,6

5

D

100

0

0

E

0

4

2.5

F

50

12

10

G

80

12

10

H

120

0

0


The test shall end with an observation period of 1 h at the ambient temperature conditions of the test environment.

Annex 8D

Mechanical integrity

1. Purpose

The purpose of this test is to verify the safety performance of the REESS under contact loads which may occur during vehicle crash situation.

2. Installations

2.1. This test shall be conducted with either the complete REESS or with a related REESS subsystem(s) including the cells and their electrical connections. If the manufacturer chooses to test with related subsystem(s), the manufacturer shall demonstrate that the test result can reasonably represent the performance of the complete REESS with respect to its safety performance under the same conditions. If the electronic management unit for the REESS is not integrated in the casing enclosing the cells, then the electronic management unit may be omitted from installation on the tested-device if so requested by the manufacturer.

2.2. The tested-device shall be connected to the test fixture as recommended by the manufacturer.

3. Procedures

3.1. General test conditions

The following condition and requirements shall apply to the test:

(a) The test shall be conducted at an ambient temperature of 20 ± 10 °C;

(b) At the beginning of the test, the SOC shall be adjusted to a value in the upper 50 per cent of the normal operating SOC range;

(c) At the beginning of the test, all internal and external protection devices which would affect the function of the tested-device and which are relevant to the outcome of the test shall be operational.

3.2. Crush test

3.2.1. Crush force

The tested-device shall be crushed between a resistance and a crush plate as described in Figure 1 with a force of at least 100 kN, but not exceeding 105 kN, unless otherwise specified in accordance with paragraph 6.4.2. of this Regulation, with an onset time less than 3 minutes and a hold time of at least 100 ms but not exceeding 10 s.

Figure 1


Dimension of the crush plate:

600 mm x 600 mm or smaller






A higher crush force, a longer onset time, a longer hold time, or a combination of these, may be applied at the request of the manufacturer.

The application of the force shall be decided by the manufacturer together with the Technical Service having consideration to the direction of travel of the REESS relative to its installation in the vehicle. The application force being applied horizontally and perpendicular to the direction of travel of the REESS.

The test shall end with an observation period of 1 h at the ambient temperature conditions of the test environment.

Annex 8E

Fire resistance

1. Purpose

The purpose of this test is to verify the resistance of the REESS, against exposure to fire from outside of the vehicle due to e.g. a fuel spill from a vehicle (either the vehicle itself or a nearby vehicle). This situation should leave the driver and passengers with enough time to evacuate.

2. Installations

2.1. This test shall be conducted either with the complete REESS or with related REESS subsystem(s) including the cells and their electrical connections. If the manufacturer chooses to test with related subsystem(s), the manufacturer shall demonstrate that the test result can reasonably represent the performance of the complete REESS with respect to its safety performance under the same conditions. If the electronic management unit for the REESS is not integrated in the casing enclosing the cells, then the electronic management unit may be omitted from installation on the tested-device if so requested by the manufacturer. Where the relevant REESS subsystems are distributed throughout the vehicle, the test may be conducted on each relevant of the REESS subsystem.

3. Procedures

3.1. General test conditions

The following requirements and conditions shall apply to the test:

(a) The test shall be conducted at a temperature of at least 0 °C;

(b) At the beginning of the test, the SOC shall be adjusted to a value in the upper 50 per cent of the normal operating SOC range;

(c) At the beginning of the test, all protection devices which effect the function of the tested-device and are relevant for the outcome of the test shall be operational.

3.2. Test procedure

A vehicle based test or a component based test shall be performed at the discretion of the manufacturer:

3.2.1. Vehicle based test

The tested-device shall be mounted in a testing fixture simulating actual mounting conditions as far as possible; no combustible material should be used for this with the exception of material that is part of the REESS. The method whereby the tested-device is fixed in the fixture shall correspond to the relevant specifications for its installation in a vehicle. In the case of a REESS designed for a specific vehicle use, vehicle parts which affect the course of the fire in any way shall be taken into consideration.

3.2.2. Component based test

The tested-device shall be placed on a grating table positioned above the pan, in an orientation according to the manufacturer’s design intent.

The grating table shall be constructed by steel rods, diameter 6-10 mm, with 4-6 cm in between. If needed the steel rods could be supported by flat steel parts.

3.3. The flame to which the tested-device is exposed shall be obtained by burning commercial fuel for positive-ignition engines (hereafter called "fuel") in a pan. The quantity of fuel shall be sufficient to permit the flame, under free-burning conditions, to burn for the whole test procedure.

The fire shall cover the whole area of the pan during whole fire exposure. The pan dimensions shall be chosen so as to ensure that the sides of the tested-device are exposed to the flame. The pan shall therefore exceed the horizontal projection of the tested-device by at least 20 cm, but not more than 50 cm. The sidewalls of the pan shall not project more than 8 cm above the level of the fuel at the start of the test.

3.4. The pan filled with fuel shall be placed under the tested-device in such a way that the distance between the level of the fuel in the pan and the bottom of the tested-device corresponds to the design height of the tested-device above the road surface at the unladen mass if paragraph 3.2.1. above is applied or approximately 50 cm if paragraph 3.2.2. above is applied. Either the pan, or the testing fixture, or both, shall be freely movable.

3.5. During phase C of the test, the pan shall be covered by a screen. The screen shall be placed 3 cm +/- 1 cm above the fuel level measured prior to the ignition of the fuel. The screen shall be made of a refractory material, as prescribed in Annex 8E - Appendix 1. There shall be no gap between the bricks and they shall be supported over the fuel pan in such a manner that the holes in the bricks are not obstructed. The length and width of the frame shall be 2 cm to 4 cm smaller than the interior dimensions of the pan so that a gap of 1 cm to 2 cm exists between the frame and the wall of the pan to allow ventilation. Before the test the screen shall be at least at the ambient temperature. The firebricks may be wetted in order to guarantee repeatable test conditions.

3.6. If the tests are carried out in the open air, sufficient wind protection shall be provided and the wind velocity at pan level shall not exceed 2.5 km/h.

3.7. The test shall comprise of three phases B-D, if the fuel is at least at temperature of 20 °C. Otherwise the test shall comprise four phases
A–D.


3.7.1. Phase A: Pre-heating (Figure 1)

The fuel in the pan shall be ignited at a distance of at least 3 m from the tested-device. After 60 seconds pre-heating, the pan shall be placed under the tested-device. If the size of the pan is too large to be moved without risking liquid spills etc. then the tested-device and test rig can be moved over the pan instead.

Figure 1
Phase A: Pre-heating



Tested Device


3.7.2. Phase B: Direct exposure to flame (Figure 2)

The tested-device shall be exposed to the flame from the freely burning fuel for 70 seconds.





Figure 2
Phase B: Direct exposure to flame




3.7.3. Phase C: Indirect exposure to flame (Figure 3)

As soon as phase B has been completed, the screen shall be placed between the burning pan and the tested-device. The tested-device shall be exposed to this reduced flame for a further 60 seconds.

Instead of conducting phase C of the test, phase B may at the manufacturer’s discretion be continued for an additional 60 seconds.

However this shall only be permitted where it is demonstrable to the satisfaction of the Technical Service that it will not result in a reduction in the severity of the test.





Figure 3

Phase C: Indirect exposure to flame



3.7.4. Phase D: End of test (Figure 4)

The burning pan covered with the screen shall be moved back to the position described in phase A. No extinguishing of the tested-device shall be done. After removal of the pan the tested-device shall be observed until such time as the surface temperature of the tested-device has decreased to ambient temperature or has been decreasing for a minimum of 3 hours.

Figure 4
Phase D: End of test












Annex 8E - Appendix 1

Dimension and technical data of firebricks



Fire resistance: (Seger-Kegel) SK 30

Al2O3 content: 30 - 33 per cent

Open porosity (Po): 20 - 22 per cent vol.

Density: 1,900 - 2,000 kg/m3

Effective holed area: 44.18 per cent

Annex 8F

External short circuit protection

1. Purpose

The purpose of this test is to verify the performance of the short circuit protection. This functionality, if implemented, shall interrupt or limit the short circuit current to prevent the REESS from any further related severe events caused by short circuit current.

2. Installations

This test shall be conducted either with the complete REESS or with related REESS subsystem(s), including the cells and their electrical connections. If the manufacturer chooses to test with related subsystem(s), the manufacturer shall demonstrate that the test result can reasonably represent the performance of the complete REESS with respect to its safety performance under the same conditions. If the electronic management unit for the REESS is not integrated in the casing enclosing the cells, then the electronic management unit may be omitted from installation on the tested-device if so requested by the manufacturer.

3. Procedures

3.1. General test conditions

The following condition shall apply to the test:

(a) The test shall be conducted at a ambient temperature of 20 ± 10 °C or at higher temperature if requested by the manufacturer;

(b) At the beginning of the test, the SOC shall be adjusted to a value in the upper 50 per cent of the normal operating SOC range;

(c) At the beginning of the test, all protection devices which would affect the function of the tested-device and which are relevant to the outcome of the test shall be operational.

3.2. Short circuit

At the start of the test all relevant main contactors for charging and discharging shall be closed to represent the active driving possible mode as well as the mode to enable external charging. If this cannot be completed in a single test, then two or more tests shall be conducted.

The positive and negative terminals of the tested-device shall be connected to each other to produce a short circuit. The connection used for this purpose shall have a resistance not exceeding 5 mΩ.

The short circuit condition shall be continued until the operation of the REESS´s protection function to interrupt or limit the short circuit current is confirmed, or for at least one hour after the temperature measured on the casing of the tested-device has stabilised, such that the temperature gradient varies by a less than 4 °C through 1 hour.

3.3. Standard cycle and observation period

Directly after the termination of the short circuit a standard cycle as described in Annex 8, Appendix 1 shall be conducted, if not inhibited by the tested-device.

The test shall end with an observation period of 1 h at the ambient temperature conditions of the test environment.

Annex 8G

Overcharge protection

1. Purpose

The purpose of this test is to verify the performance of the overcharge protection.

2. Installations

This test shall be conducted, under standard operating conditions, either with the complete REESS (this maybe a complete vehicle) or with related REESS subsystem(s), including the cells and their electrical connections. If the manufacturer chooses to test with related subsystem(s), the manufacturer shall demonstrate that the test result can reasonably represent the performance of the complete REESS with respect to its safety performance under the same conditions.

The test may be performed with a modified tested-device as agreed by the manufacturer and the Technical Service. These modifications shall not influence the test results.

3. Procedures

3.1. General test conditions

The following requirements and conditions shall apply to the test:

(a) The test shall be conducted at an ambient temperature of 20 ± 10 °C or at higher temperature if requested by the manufacturer;

(b) At the beginning of the test, all protection devices which would affect the function of the tested-device and which are relevant to the outcome of the test shall be operational.

3.2. Charging

At the beginning all relevant main contactors for charging shall be closed.

The charge control limits of the test equipment shall be disabled.

The tested-device shall be charged with a charge current of at least 1/3C rate but not exceeding the maximum current within the normal operating range as specified by the manufacturer.

The charging shall be continued until the tested-device (automatically) interrupts or limits the charging. Where an automatic interrupt function fails to operate, or if there is no such function the charging shall be continued until the tested-device is charged to twice of its rated charge capacity.

3.3. Standard cycle and observation period

Directly after the termination of charging a standard cycle as described in Annex 8, Appendix 1 shall be conducted, if not inhibited by the tested-device.

The test shall end with an observation period of 1 h at the ambient temperature conditions of the test environment.

Annex 8H

Over-discharge protection

1. Purpose

The purpose of this test is to verify the performance of the over-discharge protection. This functionality, if implemented, shall interrupt or limit the discharge current to prevent the REESS from any severe events caused by a too low SOC as specified by the manufacturer.

2. Installations

This test shall be conducted, under standard operating conditions, either with the complete REESS (this maybe a complete vehicle) or with related REESS subsystem(s), including the cells and their electrical connections. If the manufacturer chooses to test with related subsystem(s), the manufacturer shall demonstrate that the test result can reasonably represent the performance of the complete REESS with respect to its safety performance under the same conditions.

The test may be performed with a modified tested-device as agreed by the manufacturer and the Technical Service. These modifications shall not influence the test results.

3. Procedures

3.1. General test conditions

The following requirements and condition shall apply to the test:

(a) The test shall be conducted at an ambient temperature of 20 ± 10 °C or at higher temperature if requested by the manufacturer;

(b) At the beginning of the test, all protection devices which would affect the function of the tested-device and which are relevant for the outcome of the test shall be operational.

3.2. Discharging

At the beginning of the test, all relevant main contactors shall be closed.

A discharge shall be performed with at least 1/3 C rate but shall not exceed the maximum current within the normal operating range as specified by the manufacturer.

The discharging shall be continued until the tested-device (automatically) interrupts or limits the discharging. Where an automatic interrupt function fails to operate, or if there is no such function then the discharging shall be continued until the tested-device is discharged to 25 per cent of its nominal voltage level.

3.3. Standard charge and observation period

Directly after termination of the discharging the tested-device shall be charged with a standard charge as specified in Annex 8, Appendix 1 if not inhibited by the tested-device.

The test shall end with an observation period of 1 h at the ambient temperature conditions of the test environment.

Annex 8I

Over-temperature protection

1. Purpose

The purpose of this test is to verify the performance of the protection measures of the REESS against internal overheating during the operation, even under the failure of the cooling function if applicable. In the case that no specific protection measures are necessary to prevent the REESS from reaching an unsafe state due to internal over-temperature, this safe operation must be demonstrated.

2. Installations

2.1. The following test may be conducted with the complete REESS (maybe as a complete vehicle) or with related REESS subsystem(s), including the cells and their electrical connections. If the manufacturer chooses to test with related subsystem(s), the manufacturer shall demonstrate that the test result can reasonably represent the performance of the complete REESS with respect to its safety performance under the same conditions. The test may be performed with a modified tested-device as agreed by the manufacturer and the Technical Service. These modifications shall not influence the test results.

2.2. Where a REESS is fitted with a cooling function and where the REESS will remain functional without a cooling function system being operational, the cooling system shall be deactivated for the test.

2.3. The temperature of the tested-device shall be continuously measured inside the casing in the proximity of the cells during the test in order to monitor the changes of the temperature. The onboard sensor if existing may be used. The manufacturer and Technical Service shall agree on the location of the temperature sensor(s) used.

3. Procedures

3.1. At the beginning of the test, all protection devices which affect the function of the tested-device and are relevant to the outcome of the test shall be operational, except for any system deactivation implemented in accordance with paragraph 2.2. above.

3.2. During the test, the tested-device shall be continuously charged and discharged with a steady current that will increase the temperature of cells as rapidly as possible within the range of normal operation as defined by the manufacturer.

3.3. The tested-device shall be placed in a convective oven or climatic chamber. The temperature of the chamber or oven shall be gradually increased until it reaches the temperature determined in accordance with paragraph 3.3.1. or 3.3.2. below as applicable, and then maintained at a temperature that is equal to or higher than this, until the end of the test.

3.3.1. Where the REESS is equipped with protective measures against internal overheating, the temperature shall be increased to the temperature defined by the manufacturer as being the operational temperature threshold for such protective measures, to insure that the temperature of the tested-device will increase as specified in paragraph 3.2. above.

3.3.2. Where the REESS is not equipped with any specific measures against internal over-heating, the temperature shall be increased to the maximum operational temperature specified by the manufacturer.

3.4. The end of test: The test will end when one of the followings is observed:

(a) The tested-device inhibits and/or limits the charge and/or discharge to prevent the temperature increase;

(b) The temperature of the tested-device is stabilised, which means that the temperature varies by a gradient of less than 4 °C through 2 hours;

(c) Any failure of the acceptance criteria prescribed in paragraph 6.9.2.1. of the Regulation.











1  Former title of the Agreement: Agreement Concerning the Adoption of Uniform Conditions of Approval and Reciprocal Recognition of Approval for Motor Vehicle Equipment and Parts, done at Geneva on 20 March 1958.

2  As defined in the Consolidated Resolution on the Construction of Vehicles (R.E.3.), document ECE/TRANS/WP.29/78/Rev.2, para. 2.

3  www.unece.org/trans/danger/publi/unrec/rev17/17files_e.html

4  The distinguishing numbers of the Contracting Parties to the 1958 Agreement are reproduced in Annex 3 to Consolidated Resolution on the Construction of Vehicles (R.E.3), document ECE/TRANS/WP.29/78/Rev.2/Amend.3

5  Distinguishing number of the country which has granted/extended/refused/withdrawn approval (see approval provisions in the Regulation).

6  Strike out what does not apply.

2 1 Distinguishing number of the country which has granted/extended/refused/withdrawn approval (see approval provisions in the Regulation).

2 Strike out what does not apply.

7  The latter number is given only as an example.

0